EasyManua.ls Logo

Bosch 1617 - Page 145

Bosch 1617
165 pages
Print Icon
To Next Page IconTo Next Page
To Next Page IconTo Next Page
To Previous Page IconTo Previous Page
To Previous Page IconTo Previous Page
Loading...
76
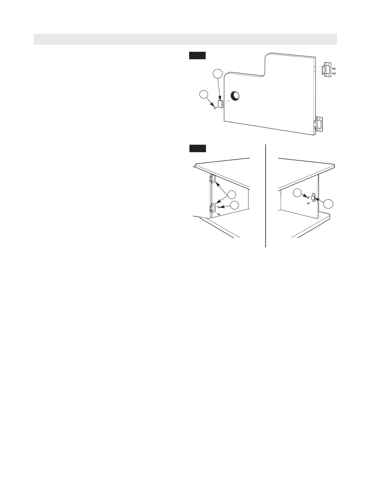
CÓMO SUJETAR LA PUERTA (Figs. 6 y 7)
SUGERENCIA: Aplicar jabón de barra o cera de
abejas a las roscas de los tornillos facilitará
la instalación en los paneles.
1. Con los relieves de la placa de retención (13B)
contra la superficie de la puerta, sujete la placa de
r
etención de metal sujete la placa de retención
metálica a la parte interior del extremo más angosto
de la puerta con un tornillo para madera Phillips de
cabeza plana de 5/8 (35). Para ayudar a alinear la
placa de captura, los golpes deben descansar en los
agujeros superior e inferior de la puerta.
2. Sujete las bisagras (12) al panel izquierdo con tres
tornillos para madera Phillips de cabeza plana de
5/8 (35) (Fig. 7).
3. Sujete la placa magnética (13A) sobre la parte
interna del panel derecho mediante dos tornillos
para madera Phillips de cabeza plana de 5/8 (35)
(Fig. 7).
4. Abra y cierre la puerta lentamente a fin de
confirmar que se mueve libremente sin rozar la
parte superior ni la inferior, que no entra en contacto
con el ensamblado del interruptor, y que engancha
correctamente.
Si la puerta roza otras superficies, verifique que los
paneles laterales y el interruptor estén ensambla-
dos en forma correcta.
Si la placa magnética no hace contacto con la
placa de retención, afloje los tornillos de la primera
y vuelva a colocarla utilizando los orificios
ranurados.
Puerta (visión posterior)
1
3B
35
13A
35
35
12
F
IG. 6
FIG.7
Montaje de la mesa de fresado

Other manuals for Bosch 1617

Related product manuals