EasyManua.ls Logo

Bosch AdvancedGrind 18 - Page 272

Bosch AdvancedGrind 18
321 pages
Go to English
To Next Page IconTo Next Page
To Next Page IconTo Next Page
To Previous Page IconTo Previous Page
To Previous Page IconTo Previous Page
Loading...
272 | Hrvatski
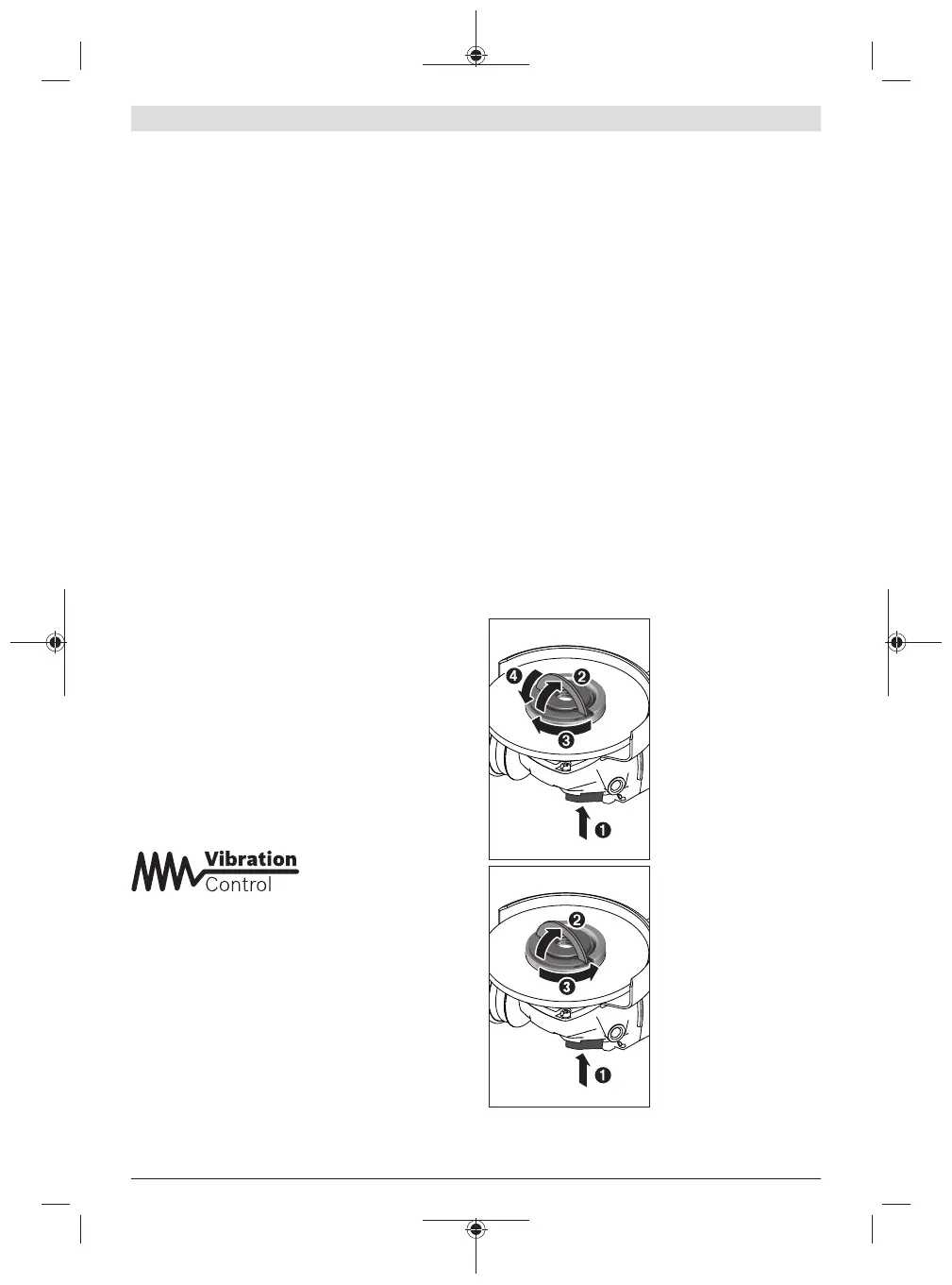
U tu svrhu pritisnite polugu za deblokiranje (1) prema gore i
okrenite štitnik (10) u željeni položaj.
u Namjestite štitnik (10) uvijek tako da se sva 3 crvena
utora na poluzi za deblokiranje (1) uglave u
odgovarajuće otvore na štitniku (10) .
u Štitnik (10) namjestite tako da se spriječi iskrenje u
smjeru osobe koja radi s kutnom brusilicom.
u Štitnik (10) se smije zakrenuti samo pritiskom na
polugu za deblokiranje (1) ! Inače se električni alat ni
u kojem slučaju ne smije dalje koristiti i treba ga
odnijeti na popravak u ovlašteni servis.
Napomena: Kodirni izdanci na štitniku (10) osiguravaju da
je moguća montaža samo štitnika koji odgovara električnom
alatu.
Štitnik za rezanje
u Kod rezanja s kompozitnim brusnim sredstvima uvijek
koristite štitnik za rezanje (13).
u Kod rezanja kamena treba osigurati dovoljno
usisavanje prašine.
Štitnik za rezanje (13) montira se kao i štitnik za brušenje
(10).
Usisni poklopac za rezanje s kliznom vodilicom
Usisni poklopac za rezanje s kliznom vodilicom (24) montira
se kao i štitnik za brušenje (10).
Dodatna ručka
u Koristite svoj električni alat samo s dodatnom ručkom
(9).
Dodatnu ručku (9) uvrnite na glavu prijenosnika desno ili
lijevo ovisno o načinu rada.
Štitnik za ruku
u Za radove s gumenim brusnim tanjurom (19) ili s
lončastom četkom/pločastom četkom/lepezastom
brusnom pločom uvijek montirajte štitnik za ruku
(18).
Štitnik za ruku (18) pričvrstite s dodatnom ručkom (9).
Dodatna ručka s amortizacijom vibracija
Dodatnu ručku (9) uvrnite
na glavu prijenosnika desno
ili lijevo ovisno o načinu
rada.
Dodatna ručka s amortizacijom vibracija omogućuje rad bez
vibracija, a time i udoban i siguran rad.
u Ne izvodite nikakve izmjene na dodatnoj ručki.
Ne koristite dalje oštećenu dodatnu ručku.
Montaža brusnih alata
u Prije svih radova na električnom alatu (npr.
održavanje, zamjena alata, itd.), kao i kod njegovog
transporta i spremanja, aku-bateriju treba izvaditi iz
električnog alata. Kod nehotičnog aktiviranja prekidača
za uključivanje/isključivanje postoji opasnost od ozljeda.
u Ne dirajte brusne i rezne ploče dok se ne ohlade.
Rezne ploče se jako zagriju tijekom rada.
Očistite brusno vreteno (17) i sve dijelove koje treba
montirati.
Za stezanje i otpuštanje brusnih alata pritisnite tipku za
blokadu vretena (2) kako biste fiksirali brusno vreteno.
u Tipku za blokadu vretena pritisnite samo dok brusno
vreteno miruje. Električni alat bi se inače mogao oštetiti.
Brusna/rezna ploča
Pridržavajte se dimenzija brusnih alata. Promjer otvora mora
odgovarati prihvatnoj prirubnici. Ne koristite adaptere ili
redukcijske elemente.
Prilikom uporabe dijamantnih reznih ploča pazite na to da se
podudaraju strelica smjera rotacije na dijamantnoj reznoj
ploči i smjer rotacije električnog alata (vidjeti strelicu smjera
rotacije na kućištu).
Redoslijed montaže možete vidjeti na stranici sa slikama.
Za pričvršćivanje brusne/rezne ploče koristite brzosteznu
maticu (16) bez uporabe alata.
u Brzostezna matica (16) smije se koristiti samo za
brusne ili rezne ploče.
u Koristite samo besprijekornu, neoštećenu brzosteznu
maticu (16).
u Pri navrtanju pazite da strana brzostezne matice (16)
s oznakom nije okrenuta prema brusnoj ploči.
u Za pričvršćivanje brusne/rezne ploče koristite
isključivo isporučenu brzosteznu maticu (16).
Pritisnite tipku za blokadu
vretena (2) kako biste
fiksirali brusno vreteno. Za
stezanje brzostezne matice
(16) otklopite držač
brzostezne matice i
okrenite brzosteznu maticu
snažno u smjeru kazaljke na
satu. Zatim preklopite držač
za fiksiranje brzostezne
matice prema dolje.
Pritezanje na rubu ploče
nije dovoljno.
Pravilno pričvršćenu,
neoštećenu brzosteznu
maticu (16) možete ručno
otpustiti. U tu svrhu
otklopite držač brzostezne
matice i okrenite
brzosteznu maticu snažno u
smjeru suprotnom od
kazaljke na satu.
Brzosteznu maticu s čvrstim
dosjedom nikada ne
otpuštajte alatom, nego
upotrijebite dvostruki
okasti ključ.
1 609 92A 5L4 | (20.12.2019) Bosch Power Tools

Other manuals for Bosch AdvancedGrind 18

Related product manuals