EasyManua.ls Logo

Bosch GLM150 - Page 265

Bosch GLM150
Print Icon
To Next Page IconTo Next Page
To Next Page IconTo Next Page
To Previous Page IconTo Previous Page
To Previous Page IconTo Previous Page
Loading...
Українська | 265
Bosch Power Tools 1 609 929 T67 | (3.7.09)
Непряме вимірювання довжини
(див. мал. HK)
За допомогою непрямого вимірювання
довжини можна вимірювати відстані, які не
можна виміряти прямим шляхом, якщо на
траєкторії променя існує перешкода або
немає цільової поверхні, яка б слугувала в
якості рефлектора. Для досягнення найкращих
результатів під час вимірювання поверхні
повинні знаходитися точно під прямим кутом
(теорема Піфагора).
Слідкуйте за тим, щоб під час окремих вимірю-
вань вихідна точка вимірювання (напр., задній
край вимірювального приладу) знаходилася
точно на тому самому місці (виняток: вимірю-
вання трапецій).
В перерві між окремими вимірюваннями
лазерний промінь залишається увімкнутим.
Непряме вимірювання довжини можна
здійснювати в чотирьох режимах вимірю-
вання, в яких можна визначати різні відстані.
Щоб вибрати режим вимірювання, натискуйте
кнопку вибору режиму 3 до тих пір, поки на
дисплеї не з’явиться символ відповідного
режиму вимірювання.
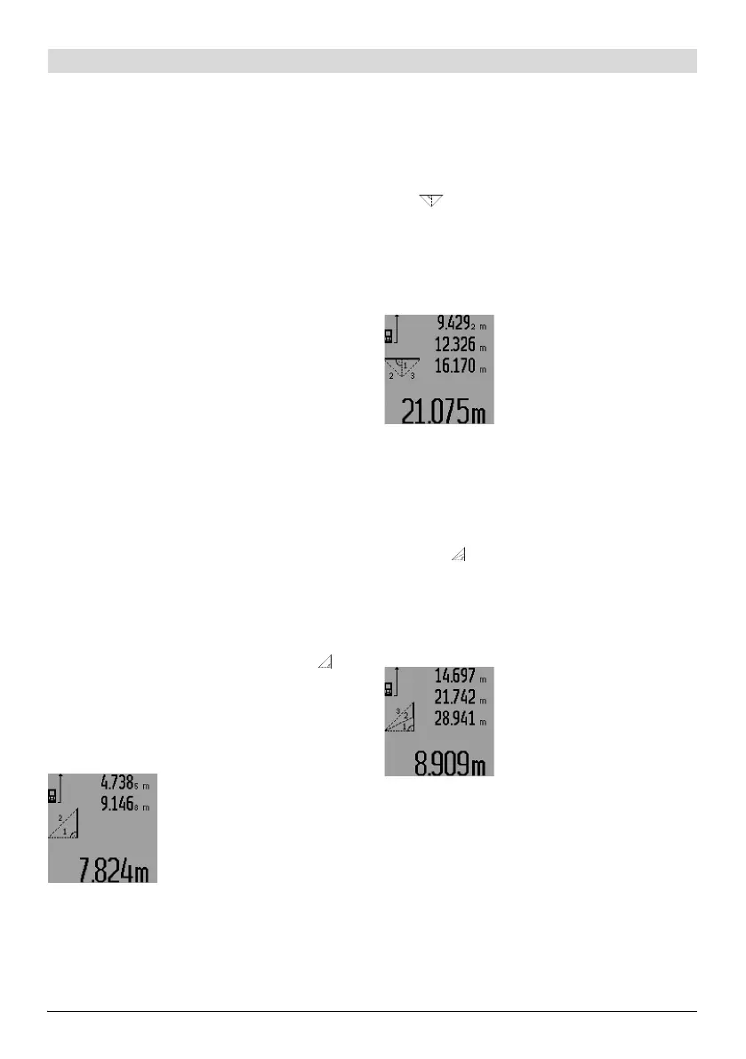
a) Просте вимірювання за теоремою
Піфагора (дивал.H)
Натискуйте кнопку вибору режиму 3 до тих пір,
поки на дисплеї не з’явиться індикатор просто-
го вимірювання за теоремою Піфагора .
Виміряйте, як і при вимірюванні довжини,
відрізки «1» та «2» в зазначеній послідовності.
Слідкуйте за тим, щоб відрізок «1» та вимірю-
ваний відрізок «E» знаходились під прямим
кутом.
Після закінчення останнього
вимірювання результат для
відрізка «E» з’являється в
рядку результату c. Окремі
значення вимірювання
з’являються в рядках для
виміряних значень a.
b) Подвійне вимірювання за теоремою
Піфагора (див. мал. I)
Натискуйте кнопку вибору режиму 3 до тих пір,
поки на дисплеї не з’явиться індикатор
подвійного вимірювання за теоремою Піфа-
гора .
Виміряйте, як і при вимірюванні довжини, від-
різки «1», «2» та «3» в зазначеній послідов-
ності. Слідкуйте за тим, щоб відрізок «1» та
вимірюваний відрізок «E» знаходились під
прямим кутом.
Після закінчення останнього
вимірювання результат для
відрізка «E» з’являється в
рядку результату c. Окремі
значення вимірювання
з’являються в рядках для
виміряних значень a.
c) Комбіноване вимірювання за теоремою
Піфагора (див. мал. J)
Натискуйте кнопку вибору режиму 3
до тих пір,
поки на дисплеї не з’явиться індикатор
комбінованого вимірювання за теоремою
Піфагора .
Виміряйте, як і при вимірюванні довжини, від-
різки «1», «2» та «3» в зазначеній послідов-
ності. Слідкуйте за тим, щоб відрізок «1» та
вимірюваний відрізок «E» знаходились під
прямим кутом.
Після закінчення останнього
вимірювання результат для
відрізка «E» з’являється в
рядку результату c. Окремі
значення вимірювання
з’являються в рядках для
виміряних значень a.
1
2
1
32
1
3
2

Related product manuals