EasyManua.ls Logo

Bosch GLM150 - Page 60

Bosch GLM150
Print Icon
To Next Page IconTo Next Page
To Next Page IconTo Next Page
To Previous Page IconTo Previous Page
To Previous Page IconTo Previous Page
Loading...
60 | Español
1 609 929 T67 | (3.7.09) Bosch Power Tools
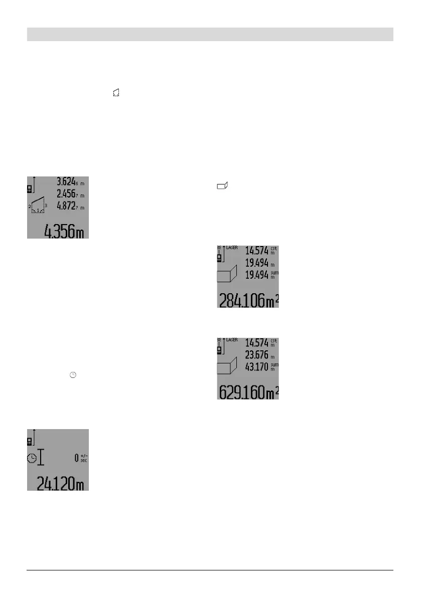
d) Medición de trapecios (ver figura K)
Vaya pulsando el selector de funciones 3 hasta
que aparezca en el display el símbolo para la
medición de trapecios .
Proceda de igual manera que en una medición
de longitud y mida las distancias “1”, “2” y “3”,
en ese orden. Observe que al medir el tramo
“3”, el origen de éste coincida exactamente con
el punto final del tramo “1” y, además, que for-
men un ángulo recto tanto los tramos “1” y “2”
como los tramos “1” y “3”.
Al concluir la última medición
se muestra el resultado del
tramo “E” determinado en la
línea de resultados c. Los va-
lores de medición individua-
les se reflejan en las líneas de
valores de medición a.
Medición de longitud con disparador
automático
La medición de longitud con disparador automá-
tico permite realizar mediciones, p.ej., en pun-
tos de difícil acceso, o en aquellos casos en los
que sea necesario evitar un movimiento durante
la medición.
Para la medición de longitudes con disparador
automático vaya pulsando el selector de funcio-
nes 3 hasta que aparezca en el display el símbolo
para la medición de longitud con disparador
automático .
En la línea de valores de medición a aparece el
tiempo de espera hasta activar la medición. El
tiempo de espera puede variarse con la tecla
Más 6 y con la tecla Menos 12 entre 1 s y 60 s.
Pulse entonces la tecla de
medición 7 para conectar el
rayo láser y dirigirlo contra el
punto de puntería. Vuelva a
pulsar la tecla de medición 7
para activar la medición. La
medición se realiza pasado el
tiempo de espera ajustado. El valor de medición
se muestra en la línea de resultados c.
En la medición de longitudes con disparador
automático no es posible efectuar la suma o res-
ta de los resultados de medición ni la medición
de mínimos/máximos.
Medición de superficies de paredes
(ver figura L)
La medición de superficies de paredes, sirve
para determinar la superficie total de diversas
superficies rectangulares que tengan todas la
misma altura.
En el ejemplo mostrado se trata de determinar
la superficie total de varias paredes de igual
altura A
pero de diferente longitud B.
Para medir la superficie de paredes vaya pulsan-
do la tecla 3 hasta que aparezca en el display el
símbolo de medición de superficies de paredes
.
Mida la altura del cuarto A procediendo igual
que en la medición de una longitud. El valor de
medición (“cst”) se muestra en la línea superior
de los valores de medición a. El láser sigue co-
nectado.
A continuación, mida la longi-
tud B
1
de la primera pared.
La superficie es calculada y
se representa automática-
mente en la línea de resulta-
dos c. El valor de la medición
de longitud aparece en la
línea del medio de los valores de medición a.
El láser sigue conectado.
Mida entonces la longitud B
2
de la segunda pared. El valor
de la medición individual
mostrado en la línea del me-
dio de los valores de medi-
ción a es sumado a la longi-
tud B
1
. La suma de ambas
longitudes (“sum”, que aparece en la línea infe-
rior de los valores de medición a) es multiplica-
da por la altura A anteriormente memorizada.
La superficie total se muestra en la línea de
resultados c.
Ud. puede continuar midiendo tantas longitudes
B
X
como quiera, las cuales se irán sumando y
multiplicando automáticamente por la altura A.
Para que el cálculo de la superficie sea correcto,
es imprescindible que la primera longitud medi-
da (en el ejemplo la altura del cuarto A) sea
igual para todas las superficies parciales.
Para comenzar una nueva medición de las super-
ficies de paredes con una altura del cuarto A
diferente, pulse tres veces la tecla 16.
1
2

Related product manuals