EasyManua.ls Logo

Bosch NGM5656UC - Countertop Requirements; Ventilation Requirements

Bosch NGM5656UC
40 pages
Print Icon
To Next Page IconTo Next Page
To Next Page IconTo Next Page
To Previous Page IconTo Previous Page
To Previous Page IconTo Previous Page
Loading...
7
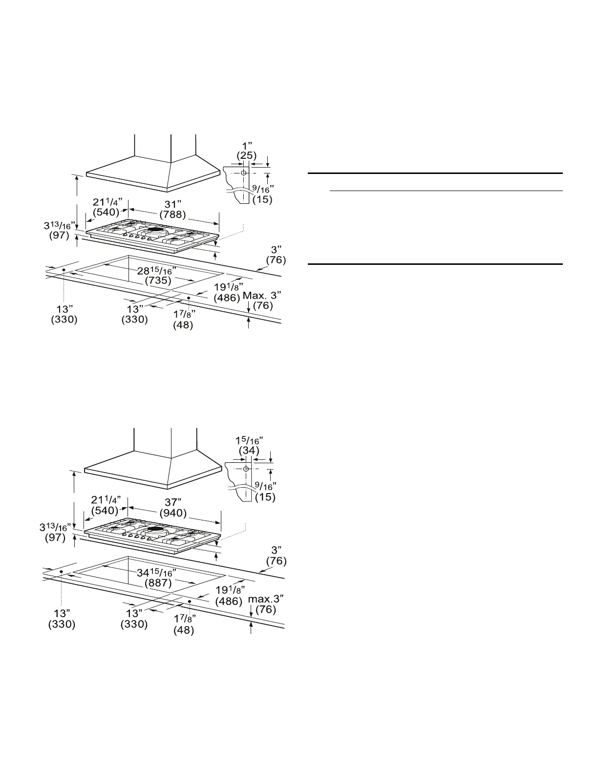
Countertop Requirements
Note: All measurements given must be precisely
followed. If nonstandard cabinets are used, make sure
they are installed with minimum dimensions shown in
image below.
30” Models
36” Models
Mounting Requirements
Use the hold down brackets supplied. See “Install the
Cooktop” section for further details.
Ventilation Requirements
We strongly recommend the installation of ventilation with
the appliance. The appliance must be installed according
to the furnished instructions.
9 CAUTION
The appliance should not be installed with a
ventilation system that blows air downward toward
the burners. This type of ventilation system may
cause ignition and combustion problems with the
gas cooking appliance resulting in personal injury or
unintended operation.
( )=mm
*Dimension from countertop to top of grates
**When installed in combination with a hood,
refer to hood manufacturer
’s requirements for installation.
gas
connection

*1ʎ/ʓʘ
(37)
( )=mm
gas
connection
*Dimension from countertop to top of grates
**When installed in combination with a hood,
refer to hood manufacturer
’s requirements for installation.

*
1ʎ/ʓʘ
(37)

Table of Contents

Related product manuals