EasyManua.ls Logo

Bosch PR10E - Page 43

Bosch PR10E
84 pages
Print Icon
To Next Page IconTo Next Page
To Next Page IconTo Next Page
To Previous Page IconTo Previous Page
To Previous Page IconTo Previous Page
Loading...
-43-
SOUS-EMBASES RONDES PR009 ET PRO010 ET
UTILISATION DES RONDELLES GUIDES
(disponibles comme accessoires en option)
De grandes sous-embases rondes sont disponibles
séparément ; elles permettent l’utilisation de diverses
rondelles guides avec les toupies à système de
préhension par la paume.
Les rondelles guides servent à guider la toupie en vue de
créer plusieurs ouvertures et incrustations égales à l’aide
de divers gabarits (que l’on appelle également modèles
ou guides). Les gabarits pour opérations de toupillage
standard, tels que ceux qui sont contenus dans le kit de
gabarits à charnre Bosch, peuvent être achetés dans un
magasin ; les gabarits pour opérations spécialisées sont
habituellement fabriqs par les utilisateurs en fonction
de leurs besoins particuliers.
La sous-embase ronde PR009 est compatible avec les
adaptateurs de guides de gabarits de la série Bosch RA.*
La sous-embase ronde PR010 est compatible avec les
adaptateurs de guides de gabarits filetés.
*Remarque : L’adaptateur RA1100 pour gabarits files
permet lutilisation de guides de gabarits filetés
conventionnels avec la sous-embase ronde PR009.
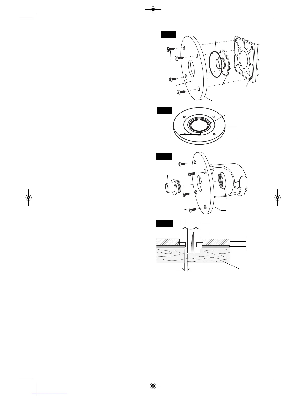
Fixation du guide de gabarit et de la sous-embase
ronde PR009 (Fig. 19)
1. Retirez la sous-embase standard.
2. Insérez le guide de gabarit dans le sommet de la sous-
embase ronde de façon que les bues anti-rotation de
la sous-embase tiennent dans les endroits prévus à
cet effet dans le guide de gabarit. (Lorsque vous
utilisez l'adaptateur RA1100, placez d'abord le joint
torique en caoutchouc entre les bues anti-rotation et
la sous-embase.) Fig. 20
3. Fixez, mais sans serrer pour l’instant, la sous-embase
ronde à l’aide des vis à te cylindrique bombée qui
sont fournies avec cet accessoire.
4. Centrez le guide de gabarit autour du fer. Vous pouvez
utiliser le dispositif de centrage RA1150 Bosch vendu
en option pour assurer que le guide de gabarit est
correctement centré.
5. Serrez les vis àte cylindrique bombée afin de tenir le
guide de gabarit et la sous-embase en position.
Remarque : si un guide de gabarit semble mal assujetti,
recommencez les étapes 2-5 aps avoir ajouté le joint
torique en caoutchouc.
Fixation du guide de gabarit et de la sous-embase
ronde PR010 (Fig. 21)
1. Retirez la sous-embase standard.
2. Fixez, mais sans serrer pour l’instant, la sous-embase
ronde à l’aide des vis à te cylindrique bombée qui
sont fournies avec cet accessoire.
3. Attachez le guide de gabarit fileté en l’introduisant au
travers de la partie inférieure et en fixant l’anneau
depuis la partie surieure.
4. Centrez le guide de gabarit autour du fer. Vous pouvez
utiliser le dispositif de centrage RA1151 Bosch vendu
en option pour assurer que le guide de gabarit est
correctement centré.
5. Serrez les vis àte cylindrique bombée afin de tenir le
guide de gabarit et la sous-embase en position.
Création de gabarits
Des moles peuvent être créés à partir de contreplaqué,
de panneaux comprimés, de métal ou même de
plastique. La forme peut être coupée à l’aide d’une toupie,
dune scie sauteuse ou dun autre outil de coupe
acceptable. Souvenez-vous que la fabrication du mole
devra tenir compte de la distance entre le fer de la toupie
et le guide de gabarit excentré »), car, du fait de la
position du fer, la différence de taille entre l’ouvrage final
et celle du gabarit correspondra à cette distance (Fig. 21).
*Voir page 52 pour les tailles de guides de gabarits
disponibles.
**Voir page 53 pour des détails sur le centrage.
FIG. 21
SOUS-EMBASE
PR010
L’ANNEAU
GUIDE
DE GABARIT
DOUILLE
PIÈCE
FER
DÉPORT
GUIDE DE
GABARIT
PROFIL DU
GABARIT
FIG. 22
Sous-embase
de la toupie
FIG. 19
EMBASE DE
LA TOUPIE
GUIDE
DE GABARIT
SOUS-EMBASE PR009
JOINT TORIQUE EN CAOUTCHOUC
(SI NÉCESSAIRE)
VIS À TÊTE
CYLINDRIQUE
BOMBÉE
FIG. 20
BUTÉES
ANTI-ROTATION
BUTÉES
ANTI-ROTATION
JOINT TORIQUE EN
CAOUTCHOUC (SI
NÉCESSAIRE)
VIS À TÊTE
CYLINDRIQUE
BOMBÉE
BM 2610021461 06-12_BM 2610021461 06-12.qxp 6/26/12 1:38 PM Page 43

Other manuals for Bosch PR10E

Related product manuals