EasyManua.ls Logo

Bosch SHE42L - Page 11

Bosch SHE42L
20 pages
Print Icon
To Next Page IconTo Next Page
To Next Page IconTo Next Page
To Previous Page IconTo Previous Page
To Previous Page IconTo Previous Page
Loading...
14
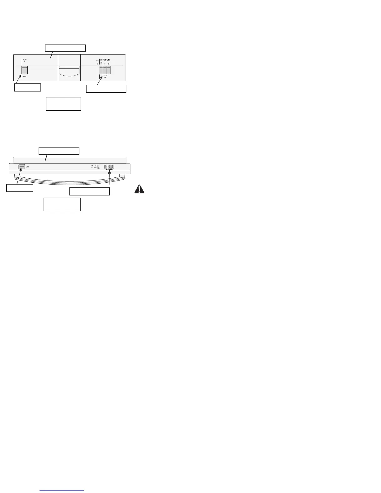
Starting the Dishwasher
To start the dishwasher, follow the instructions in Figures 19 and 20 depending the control
location.
Interrupting a Cycle
NOTE: Should you need to interrupt a cycle (to add or remove an item, to add detergent,
etc.), it is best to do so within the rst 30 minutes of the cycle.
Exposed Front Controls (See Figure 19)
1. Press the On/Off button to turn the unit off.
2. Wait at least ten seconds or until the water noises stop before opening the
dishwasher door.
3. To resume the cycle, close the dishwasher door and then press the On/Off button.
Hidden Top Controls (See Figure 20)
1. Open the dishwasher door just far enough to expose the control panel.
2. Press the On/Off button to turn the unit off.
3. Wait at least ten seconds or until the water noises stop before opening the
dishwasher door.
4. To resume the cycle, press the On/Off button and close the dishwasher door.
WARNING
You could be seriously scalded if you allow hot water to splash out of the dishwasher.
OPEN THE DOOR CAREFULLY during any wash or rinse cycle. Do not fully open the
door until water noises have stopped.
Wait at least ten seconds or until water noises stop before opening the dishwasher door. To
resume the cycle, press the On/Off button and shut the dishwasher door.
Canceling or Changing a Cycle
To cancel or change a cycle, open the dishwasher door far enough to expose the control
buttons then press and hold for three seconds the two buttons labeled “Cancel Drain” as
shown in Figure 21.
Close the door and wait until the dishwasher completes the cycle (approximately 1
minute). Open the door and press the ON/OFF button.
You may now begin a new cycle.
Child Safety Latch (select models)
Your dishwasher is shipped from the factory with the Child Safety Latch disengaged and
in the normal operating mode. Pull on the door handle to open the door. The Child Safety
latch activation lever is located in the recess for the door handle. You must look up into the
recess to nd the Child Safety Latch activation lever (see Figure 22).
To activate the Child Safety Latch insert a matchstick or other non-metal object into the
opening as shown in Figure 22. The activation lever will release and move toward the left.
You have now activated the Child Safety Latch. Each time you open the dishwasher
door you will need to slide the activation lever to the right to release the door locking
mechanism, you can then pull the door open (See Figure 23). After you open the door you
should release the Child Safety Latch Activation lever and let it slide back toward the left.
To deactivate the Child Safety Latch insert a matchstick or other non-metal object into the
opening as shown in Figure 24. Slide the activation lever to the right and hold. Remove the
matchstick and release the lever. The feature has now been deactivated and you can open
the door by pulling the handle.
Child Lock (select models)
The Child Lock feature allows you to disable the dishwasher control panel to prevent acci
-
dental activation. To activate this feature press and hold the button labeled “Child Lock” for
4 seconds and the “Child lock” indicator light will illuminate. To disable the feature, press
and hold the “Child Lock” button for 4 seconds.
Figure 19
Exposed Front Controls
1) Close the door
2) Turn on
3) Select a cycle
4) The unit will
then start
4) Close the
door to start
Hidden Top Controls
2) Turn on
3) Select a cycle
1) Open the door
Figure 20

Related product manuals