EasyManua.ls Logo

Bresser TempTrend - Page 11

Bresser TempTrend
Print Icon
To Next Page IconTo Next Page
To Next Page IconTo Next Page
To Previous Page IconTo Previous Page
To Previous Page IconTo Previous Page
Loading...
11
ABLESEN DER TEMPERATUR UND
LUFTFEUCHTIGKEIT
In der Anzeige werden Ihnen alle Daten gut lesbar
auf einen Blick dargestellt. Sie sehen die Wetterprognose
im oberen Bereich. Darunter sind Innentemperatur,
Innenluftfeuchte zu sehen. Unter diesen Daten werden
die Aussentemperatur Ihres Senders sowie die Aussen-
luftfeuchte angezeigt.
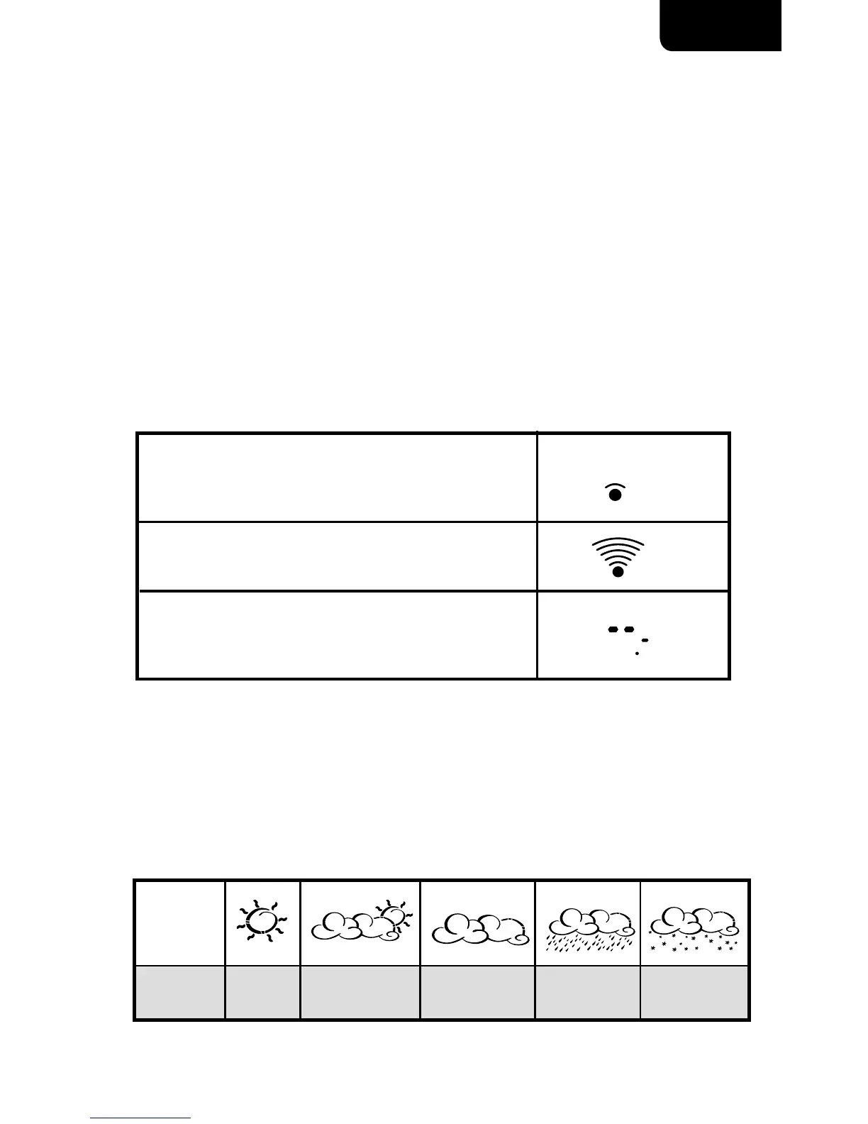
ABLESEN DES “WELLEN”- INDIKATORS
Der “Wellen” Indikator zeigt den Status des
Empfangsgerätes im Bezug auf den Empfang der Signale
an. Es können drei verschiedene Anzeigen erfolgen:
Das Gerät funktioniert im
Suchmodus (blinkend).
Empfänger funktioniert auf
normalem Empfang.
Keine Signale empfangen seit mehr
als 15 Minuten.
GRAFISCHE WETTERTENDENZANZEIGE
Die Empfangseinheit errechnet aufgrund der barometrischen
Luftdruckänderung die Wetterentwicklung für die kommenden
12-24 Stunden und zeigt diese mit folgenden Symbolen an:
Display
Prognose
Sonnig
leicht
Bewölkt
Bewölkt Schnee
leichter
Regen
DE/BE/CH

Related product manuals