EasyManua.ls Logo

Bresser TempTrend - Page 45

Bresser TempTrend
Print Icon
To Next Page IconTo Next Page
To Next Page IconTo Next Page
To Previous Page IconTo Previous Page
To Previous Page IconTo Previous Page
Loading...
45
Prévision du Temps
Cet appareil est capable de détecter les variations de
pression atmosphérique. En se basant sur la date, il peut
prédire le temps pour les 12 à 24 heures à venir.
COMMENT CONTROLER LES TEMPERATURES
INTERIEURE ET EXTERIEURE
La température intérieure s'affiche sur la deuxième ligne
de l'affichage. La température extérieure s'affiche sur la
ligne du haut. L'affichage d'une icône en forme d'onde
au niveau de la température extérieure indique que la
réception du signal du capteur distant est correcte. Si
aucun signal n'est reçu du capteur distant pendant plus
de deux minutes, des blancs " " s'afficheront jusqu'à
réception correcte d'un signal. Vérifiez le bon état et le
bon positionnement du capteur distant. Vous pouvez
attendre un peu ou bien maintenir [ ] enfoncé pendant
2 secondes pour forcer une recherche immédiate. Si la
température sort des limites hautes ou basse de mesure
de la station de base ou du capteur distant (telles
qu'indiquées dans les caractéristiques), l'affichage
indiquera " ".
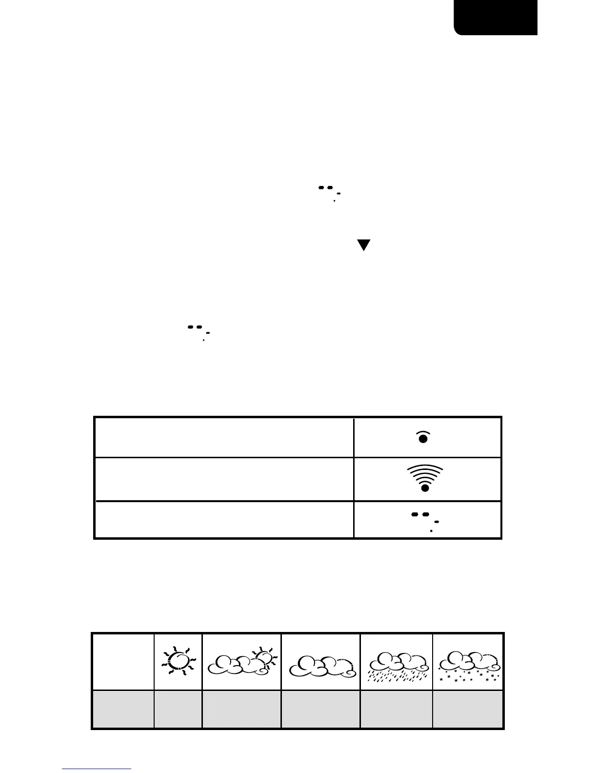
SIGNIFICATION DE L'AFFICHAGE DES ONDES
L'affichage des ondes indique le statut de réception du
signal sur la station de base. Trois formes sont possibles:
Prévision
Soleil
Soleil voilé
Nuageux
Affichage
NeigeuxPluvieux
La station est en mode recherche
Les températures sont
enregistrées correctement
Absence de signal
FR/BE/CH

Related product manuals