EasyManua.ls Logo

Broan Nutone 2736 eclipse - Page 7

Broan Nutone 2736 eclipse
8 pages
Print Icon
To Next Page IconTo Next Page
To Next Page IconTo Next Page
To Previous Page IconTo Previous Page
To Previous Page IconTo Previous Page
Loading...
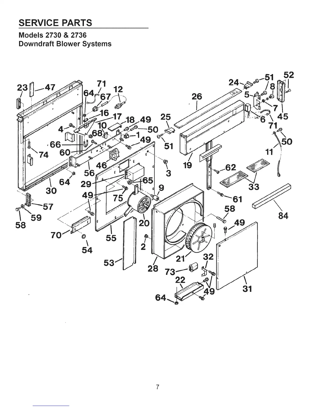
SERVICE PARTS
Models 2730 & 2736
Downdraft Blower Systems
23 _.147 71 12
/
55
25
51
\
3
9
19
52
I
84
31
7

Related product manuals