EasyManua.ls Logo

Brother HL-L2325DW - Page 146

Brother HL-L2325DW
248 pages
To Next Page IconTo Next Page
To Next Page IconTo Next Page
To Previous Page IconTo Previous Page
To Previous Page IconTo Previous Page
Loading...
3-37
Confidential
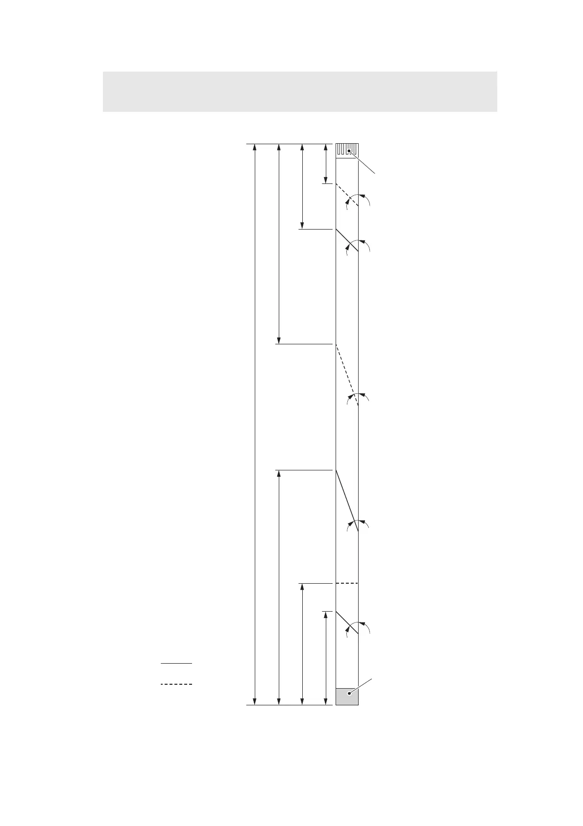
Fig. 3-31
Assembling Note:
Fold the HVPS flat cable at the positions described below.
Electrode
20°
Mountain fold
Valley fold
Reinforcing tape
45°
20°
45°
<Main PCB side>
<High-voltage power supply PCB side>
45°
38±1
81±1
191±1
536±10
224±1
89±1
116±1

Table of Contents

Other manuals for Brother HL-L2325DW

Related product manuals