EasyManua.ls Logo

BRP Lynx E-TEC Series - Page 207

BRP Lynx E-TEC Series
368 pages
Print Icon
To Next Page IconTo Next Page
To Next Page IconTo Next Page
To Previous Page IconTo Previous Page
To Previous Page IconTo Previous Page
Loading...
205
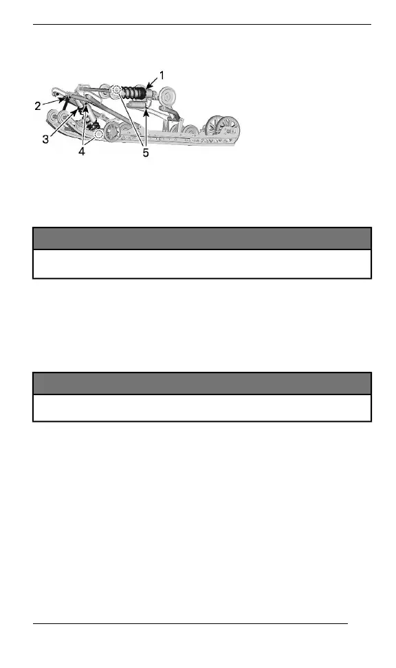
RReeaarr SSuussppeennssiioonn AAddjjuussttmmeennttss
TTYYPPIICCAALL -- AADDJJUUSSTTAABBLLEE CCOOMMPPOONNEENNTTSS
1. Rear spring
2. Stopper strap
3. Center spring
4. Center shock absorber
5. Rear shock absorber
NNOOTTIICCEE
WWhheenneevveerr aaddjjuussttiinngg rreeaarr ssuussppeennssiioonn,, cchheecckk ttrraacckk tteennssiioonn aanndd
aaddjjuusstt iiff nneecceessssaarryy..
SSttooppppeerr SSttrraapp
Stopper strap length has an effect on the amount of weight the center
spring has to carry especially during acceleration, therefore on the
front end uplift.
Stopper strap length also has an effect on center spring travel.
NNOOTTIICCEE
WWhheenneevveerr ssttooppppeerr ssttrraapp lleennggtthh iiss cchhaannggeedd,, ttrraacckk tteennssiioonn mmuusstt
bbee cchheecckkeedd..
NNOOTTEE::
Stopper strap can be set to position 1, 2 or 3. Smaller numbers corre-
spond to a longer strap setting.
TUNE YOUR RIDE