EasyManua.ls Logo

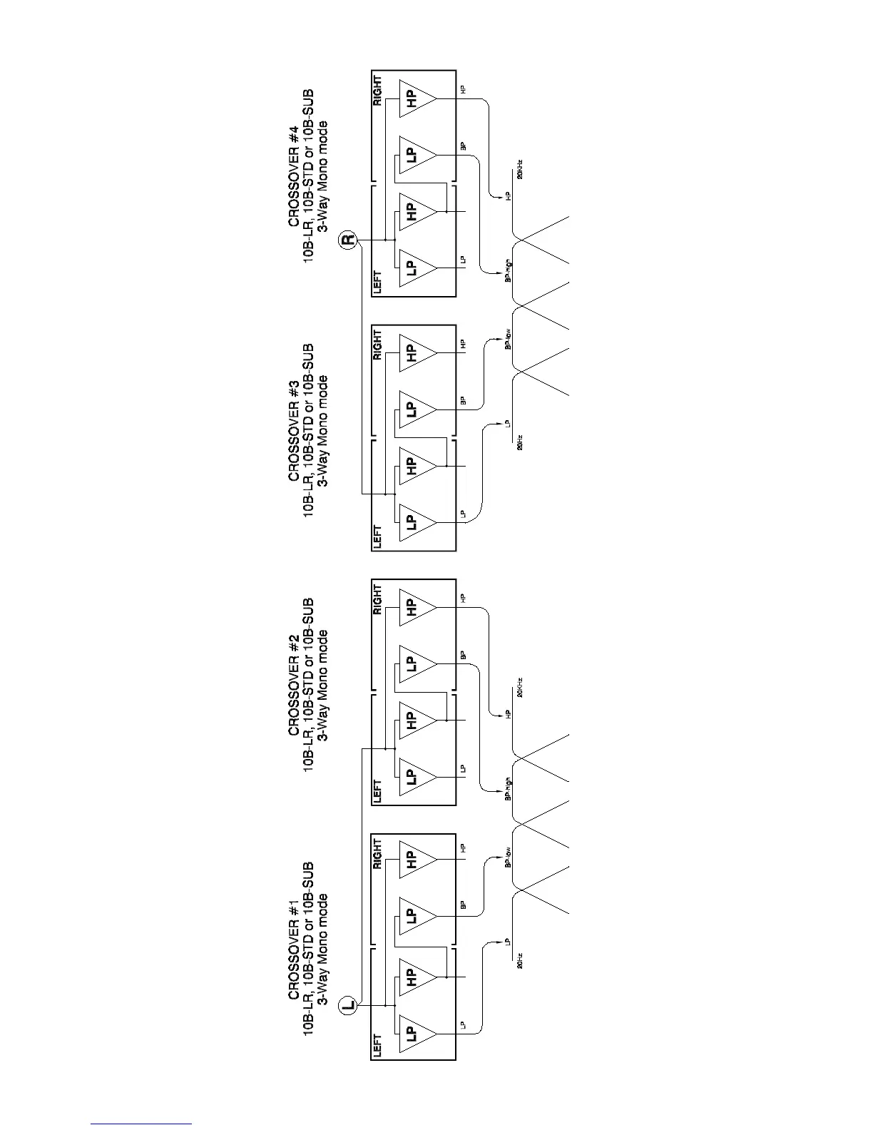
Bryston 10B - Stereo 4-Way Configuration with Multiple 10 B Units; Crossover Unit 1 in 4-Way Stereo; Crossover Unit 2 in 4-Way Stereo; Crossover Unit 3 in 4-Way Stereo

Bryston 10B
12 pages
Print Icon
To Next Page IconTo Next Page
To Next Page IconTo Next Page
To Previous Page IconTo Previous Page
To Previous Page IconTo Previous Page
Loading...
CONNeCTING 10B CROSSOveRS IN A STeReO 4-WAy CONFIGURATION

Other manuals for Bryston 10B