EasyManua.ls Logo

BTC 3000 - System Block Diagrams; PC and Receiver Connectivity

Default Icon
7 pages
Print Icon
To Previous Page IconTo Previous Page
To Previous Page IconTo Previous Page
Loading...
BEHAVIOR TECH COMPUTER CORP. Remote Control Ver.1.0
May 23, 2000 Page 4
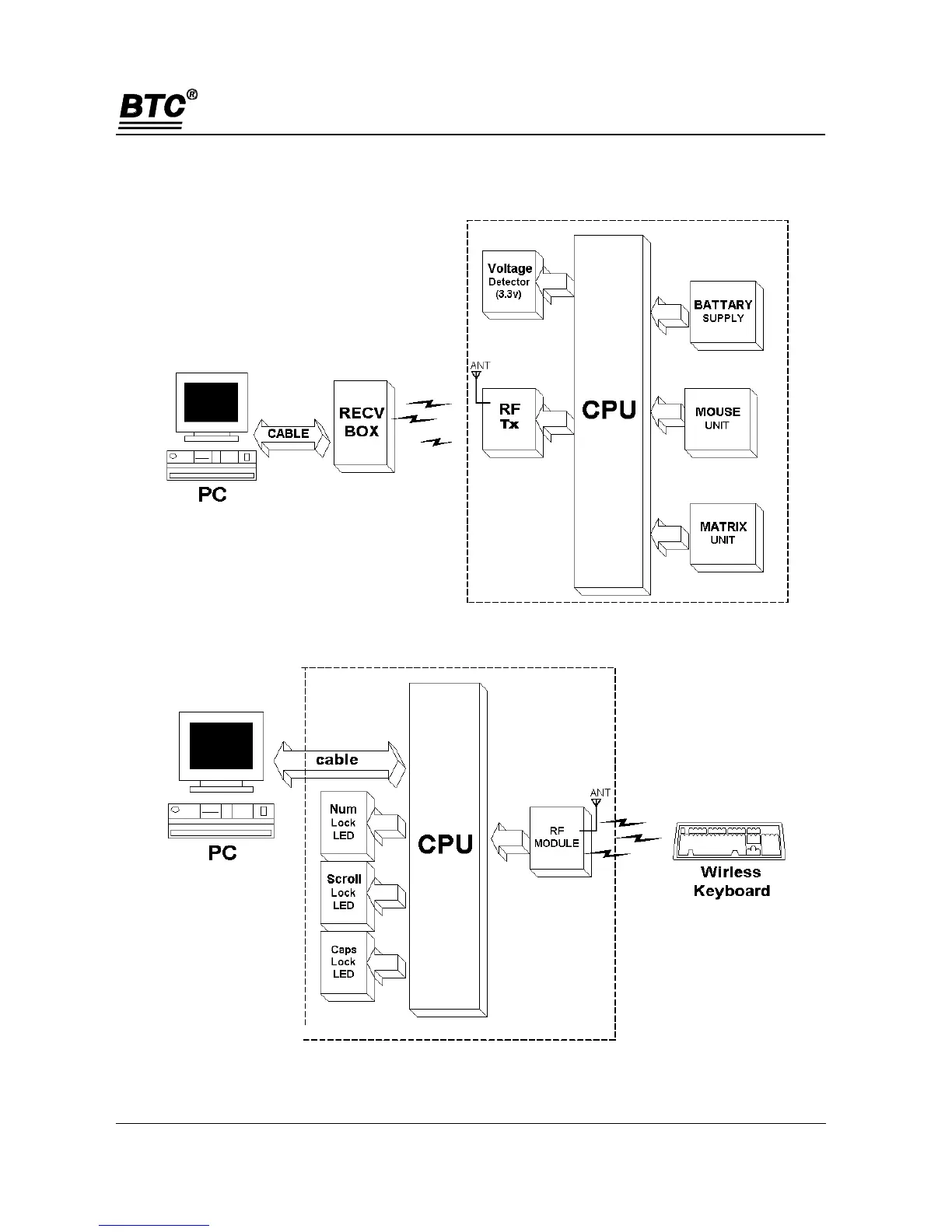
4 BLOCK DIAGRAM
Keyboard
Receiver