EasyManua.ls Logo

Bunn VLPF - Page 10

Bunn VLPF
18 pages
Print Icon
To Next Page IconTo Next Page
To Next Page IconTo Next Page
To Previous Page IconTo Previous Page
To Previous Page IconTo Previous Page
Loading...
10
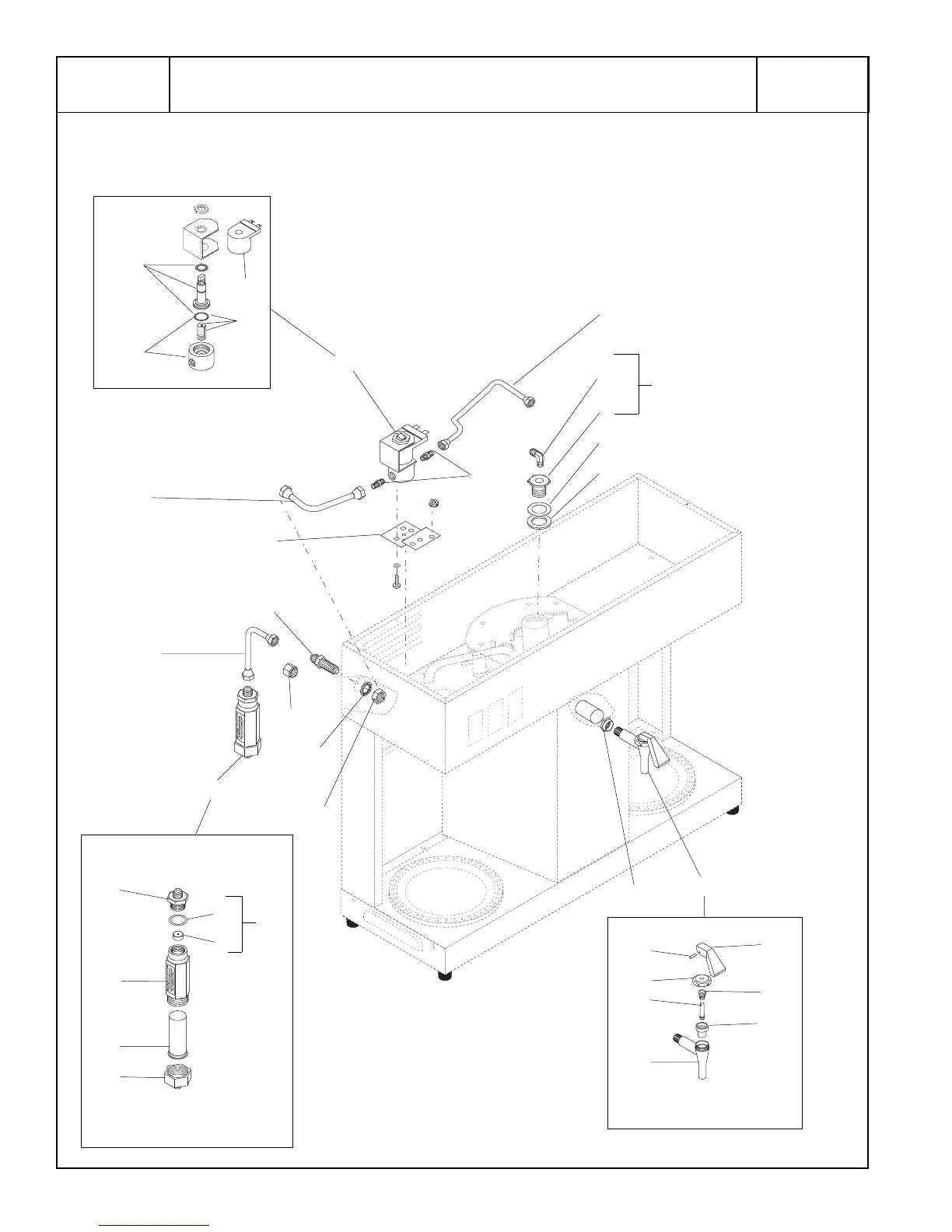
BUNN
®
VLPF
STRAINER/FLOW CONTROL & FAUCET
(continued)
15
19
20
21
16
17
18
13
23
24
25
27
28
6
12
11
7
8
2
3
5
4
1
P1965
29
30
32
33
35
37
31
34
36
9
10
22
26
32262 091599