EasyManua.ls Logo

Cafe CXE - Fonctions

Cafe CXE
141 pages
Print Icon
To Next Page IconTo Next Page
To Next Page IconTo Next Page
To Previous Page IconTo Previous Page
To Previous Page IconTo Previous Page
Loading...
6 49-1000329 Rev. 7
Fonctions
UTILISATION DU RÉFRIGÉRATEUR: Fonctions
Modèle CVE y CXE
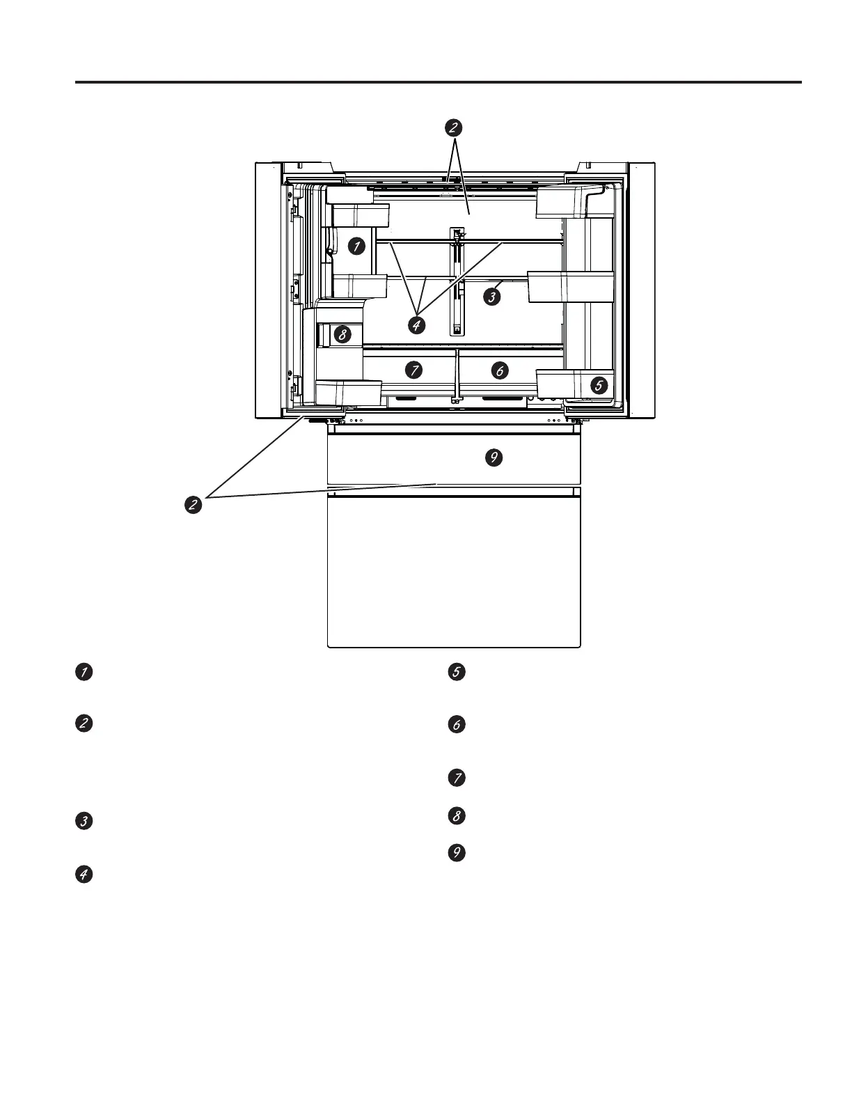
Machine à glaçons à faible encombrement
La machine à glaçons et son bac sont situés sur la porte
permettant d’avoir un espace de stockage plus spacieux.
Éclairage DEL général
L’éclairage à DEL est placé dans tout le compartiment pour
éclairer différentes zones du réfrigérateur. Des DEL sont
situées sous la porte réfrigérateur afin d’éclairer le tiroir
convertible, et des DEL se trouvent sous le tiroir convertible
pour éclairer le tiroir congélateur.
Clayette QuickSpace™
Elle s’utilise comme une clayette normale de pleine largeur.
Elle se glisse vers l’arrière pour stocker des produits hauts.
Clayettes anti-débordements
Conçues pour empêcher les aliments renversés de couler
et permettre ainsi un nettoyage facile.
Balconnet amovible
On peut le retirer lorsque l’ouverture de porte est limitée
par un mur.
SCC (système à contrôle climatique)
Des bacs SCC étanches prolongent la conservation des
fruits et légumes frais en maintenant l’humidité.
Bac ventilé
Un bac ventilé pour ranger les fruits et légumes.
Filtre à eau
Filtre l’eau et l’eau destinée à se transformer en glace.
Tiroir convertible
Réglez la meilleure température pour ranger vos aliments.

Related product manuals