EasyManua.ls Logo

Candy CDIMN 2D622PB - Description of the Control Panel; Technical Data

Candy CDIMN 2D622PB
Print Icon
To Next Page IconTo Next Page
To Next Page IconTo Next Page
To Previous Page IconTo Previous Page
To Previous Page IconTo Previous Page
Loading...
!
98
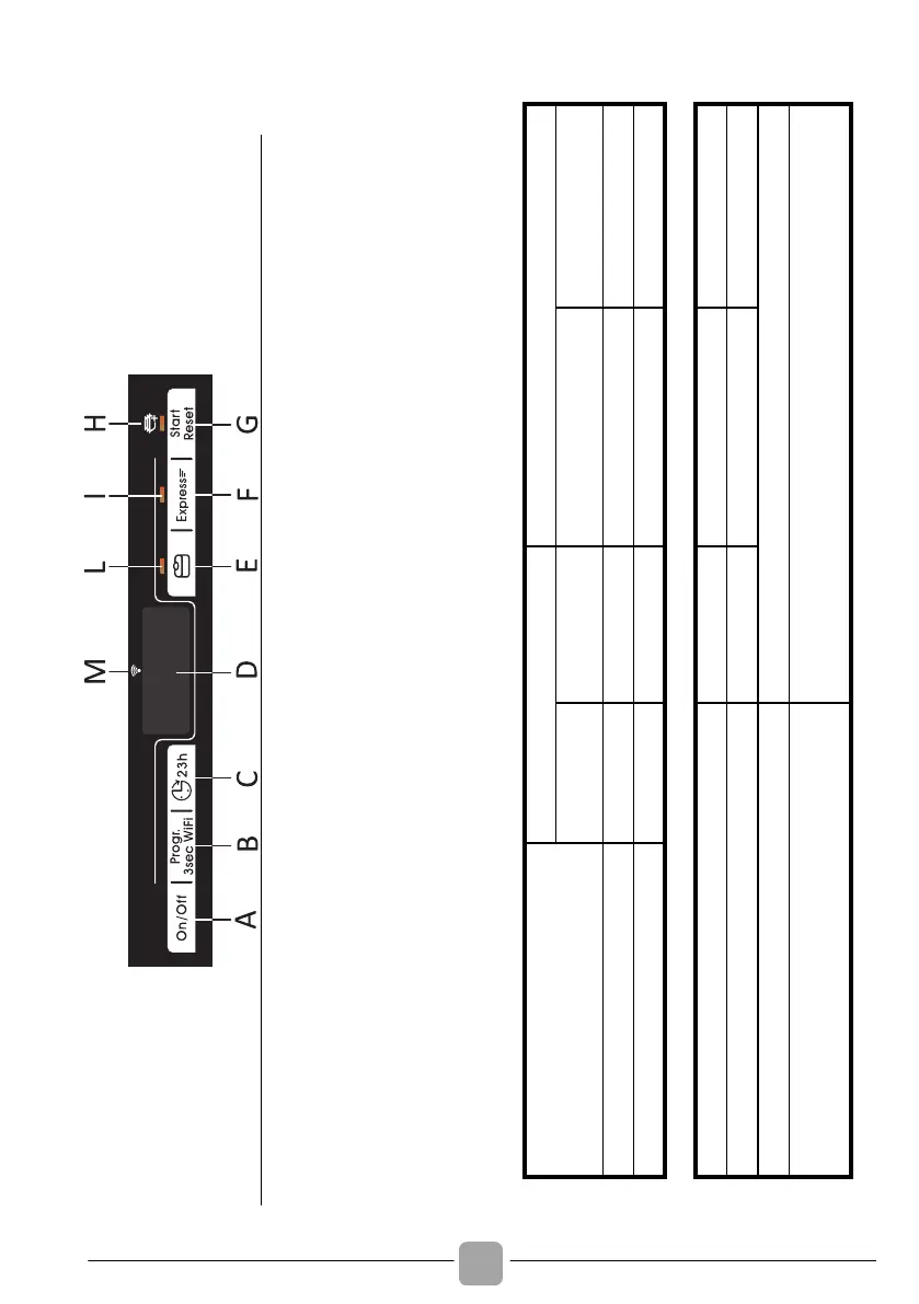
13. DESCRIPTION OF THE
CONTROL PANEL
G "Start/Reset" button (start/cancel programme)
H "Addish" light
I "EXPRESS" light
L "TABS" light
M "Wi-Fi" light
A ON/OFF Button
B "PROGRAMME SELECTION" button/ENROLMENT Wi-Fi
C "START DELAY" button
D Display
E "TABS" option button
F "EXPRESS" option button
14. TECHNICAL DATA
SIZE
BUILT-IN
FULL-INTEGRATED
59,8x81,8 ÷ 89,8x55
117
TECHNICAL DATA (See rating plate)
16
9 people
Min. 0,08 Max. 0,8
See rating plate
HALF-INTEGRATED
59,8x81,8 ÷ 89,8x57
117
15
9 people
FREE-STANDING
WITHOUT
WORKTOP
59,8x82x58
117
13
8 people
WITH
WORKTOP
60x85x60.9
120
Place settings (EN 50242)
Capacity with pans and dishes
Water supply pressure (MPa)
Fuse / Power input / Supply voltage
DATA
Width x Height x Depth (cm)
Depth with door open (cm)

Related product manuals