EasyManua.ls Logo

Candy CFI 82 - Page 32

Candy CFI 82
192 pages
Print Icon
To Next Page IconTo Next Page
To Next Page IconTo Next Page
To Previous Page IconTo Previous Page
To Previous Page IconTo Previous Page
Loading...
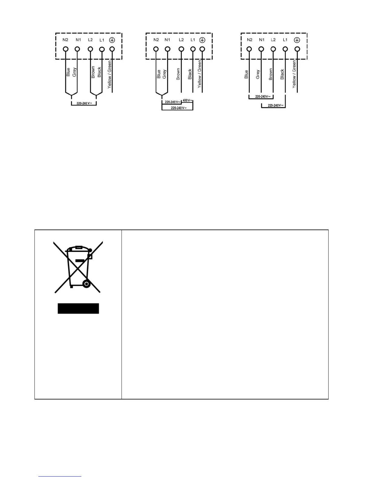
If the cable is damaged or to be replaced, the operation must be carried out by
the after-sale agent with dedicated tools to avoid any accidents.
If the appliance is being connected directly to the mains an omnipolar
circuit-breaker must be installed with a minimum opening of 3mm between
contacts.
The installer must ensure that the correct electrical connection has been made
and that it is compliant with safety regulations.
The cable must not be bent or compressed.
The cable must be checked regularly and replaced by authorised technicians
only.
DISPOSAL: Do not
dispose this product
as unsorted municipal
waste. Collection of
such waste separately
for special treatment is
necessary.
This appliance is labeled in compliance with European directive
2012/19/EU for Waste Electrical and Electronic Equipment
(WEEE). By ensuring that this appliance is disposed of correctly,
you will help prevent any possible damage to the environment and
to human health, which might otherwise be caused if it were
disposed of in the
wrong way.
The symbol on the product indicates that it may not be treated as
normal household waste. It should be taken to a collection point
for the recycling of electrical and electronic goods.
This appliance requires specialist waste disposal. For further
information regarding the treatment, recover and recycling of this
product please contact your local council, your household waste
disposal service, or the shop where you purchased it.
For more detailed information about treatment, recovery and
recycling of this product, please contact your local city office, your
household waste disposal service or the shop where you
purchased the product.
EN-31

Related product manuals