EasyManua.ls Logo

Candy CH642B - Page 27

Candy CH642B
96 pages
Print Icon
To Next Page IconTo Next Page
To Next Page IconTo Next Page
To Previous Page IconTo Previous Page
To Previous Page IconTo Previous Page
Loading...
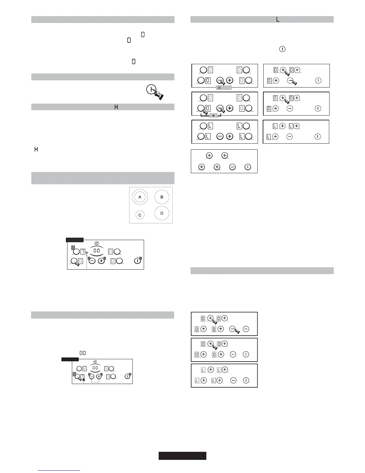
Die Taste Sperren verhindert das ungewollte Einschalten
derKochzonen. Sie ist ebenfalls nützlich während der Reinigung
des Gerätes.
Um das Kochfeld zu sperren:
- Drücken Sie den Ein/Aus-Druckknopf .
 4 zonen 3 zonen
. Das Kochfeld ist verriegelt. Die Anzeige "L" ist auf allen Zonen
für 20 Sekunden angezeigt.
Erreicht eine Kochzone die Stufe "heiß" dann erscheint "L" und
"H" im Wechsel.
Um das Kochfeld entsperren
Für das Kochfeld mit 4 Zonen, zum Entsperren gehen Sie
nach dem gleichen Verfahren vor.
Für das Kochfeld mit 3 Zonen, gilt das gleiche Verfahren,
aber in der letzten Stufe müssen Sie auf die Taste "-" Touch
drücken, anstatt "touch".
Die Anzeige "L" erlischt. Das Kochfeld ist entriegelt und kehrt
auf dem Stand-by Modus zurück.
. KOCHZONE AUSSCHALTEN
- Drücken Sie die Auswahl-Taste der gewünschten Kochzone.
- Drücken Sie die Taste "-" um die Leistungsstufe anzuzeigen.
Jetzt erlischt die Kochzone. Die Anzeige erlischt ebenfalls
nach 10 Sekunden.
- Um schnell zu beenden, drücken Sie gleichzeitig die "-" die
jeweilige Kochzonen Auswahl.
- Die Wärme-Ebene geht automatisch auf . Die Kochzone
erlischt.
. CERANFELD ABSCHALTEN
Es ist möglich, die Funktion der Kochzonen und
des Minutenzählers durch Drücken der Taste
ON-OFF jederzeit abzuschalten.
. RESTWÄRMEANZEIGE
Um anzuzeigen, daß die Temperatur der Kochstellenoberfläche
über 60°C beträgt, erscheint im Steuerungsfeld die Anzeige: " ".
Wir empfehlen, gegen Ende der Garzeit die Kochzone
abzuschalten und die Restwärme auszunutzen, um den
Garvorgang schonend zu Ende zu bringen.
Wenn die Temperatur unter 60°C gefallen ist, erlischt die Anzeige
.
HINWEIS: nach einem eventuellen Stromausfall bleibt die
Restwärmeanzeige ausgeschaltet, selbst wenn die Temperatur
der Glasoberfläche über 60°C beträgt.
. STEUERUNG DER ZUSÄTZLICHEN KOCHZONE
(ZWEI ZONEN)
Mit der Kochzone mit zwei Bereichen
sind einige Modelleausgestattet .....................
>
Sie ist vollständig aktiv, wenn die Kochzone in Betrieb ist ; die
Steuerung der zusätzlichen Kochzone wird angezeigt.
Um die zusätzliche Kochzone zu deaktivieren:
- Drücken Sie auf die Anzeige der zusätzlichen Kochzone. Die
LED Anzeige erlischt wenn die zusätzliche Kochzone deaktiviert
ist.
Um die zusätzliche Kochzone zu aktivieren: Drücken Sie die
Taste der Kochzone. Die LED Leuchte wird angezeigt.
. PROGRAMMIERUNG EINER KOCHSTELLE
Jede Kochzone ist für eine maximale Dauer von 99 Minuten
programmierbar.
- Starten Sie die gewünschte Zone, indem Sie die vorherigen
Anweisungen beachten.
- Drücken Sie gleichzeitig auf dem Touch "-" und "+", um den
Timer zu aktivieren, " " wird angezeigt.
- Drücken Sie erneut auf das "+"-Taste, um eine Zeit in Minuten
zwischen 0 und 99 anzuzeigen oder drücken Sie auf die Option
"-" Taste, um die Zeit zwischen 30 Minuten und 0 zu verringern.
Die Zeitsteuerung wird angezeigt.
--> Die eingestellte Zeit kann jederzeit verändert werden.
Wenn die Zeit abgelaufen ist, schaltet sich die Kochzone
automatisch ab und es ertönt ein akustisches Signal. Drücken
Sie irgendeine Taste, um es zu unterbrechen.
--> Der Minutenzähler kann auch einzeln als Eieruhr benutzt
werden. Am Ende der Zeit ertönt ein Klingelzeichen.
LED
TYP
B
27 DE
LED
TYP
B
7
7
. LEISTUNGSSPERREN
2 se
k
LEISTUNGSSPERREN / MODEL CH64
Die Taste Sperren verhindert das ungewollte Einschalten
derKochzonen. Sie ist ebenfalls nützlich während der Reinigung
des Gerätes.
Um das Kochfeld zu sperren:
- Drücken Sie den Ein/Aus-Druckknopf
Das Kochfeld ist verriegelt. Die
Anzeige "L" ist auf allen Zonen
für 20 Sekunden angezeigt.
Erreicht eine Kochzone die
Stufe "heiß" dann erscheint "L"
und "H" im Wechsel.
Um das Kochfeld entsperren
Für das Kochfeld, gilt das
gleiche Verfahren, aber in der
letzten Stufe müssen Sie auf die
Taste "-" Touch drücken, anstatt
"touch".
Die Anzeige "L" erlischt. Das Kochfeld ist entriegelt und kehrt
auf dem Stand-by Modus zurück.

Table of Contents

Related product manuals