EasyManua.ls Logo

Candy CH642B - Page 75

Candy CH642B
96 pages
Print Icon
To Next Page IconTo Next Page
To Next Page IconTo Next Page
To Previous Page IconTo Previous Page
To Previous Page IconTo Previous Page
Loading...
. STÄNGA AV EN TILLAGNINGSZON
- Tryck på valknappen till den tillagnings zon du vill använda.
- -Tryck på knappen för att visa värmenivån .Nu stängs
zonenav, indikatorn slocknar efter 10 sekunder.
- För snabbavstängning, tryck samtidigt på knappar - och
knappen den tillagnings zon Aktiv.
Värmenivån sänks automatiskt till .Tillagningszonen stängs av.
. ALLMÄN AVSTÄNGNING
Tillagningszonerna och timern kan stängas av
när somhelst genom att man trycker på knappen
På-Av.
. INDIKATOR FÖR KVARVARANDE VÄRME
Så här visar kontrollpanelen att tillagningszonernas
yttemperaturöverskrider 60° C: .
När temperaturen sjunker under 60° Csläcks indikatorn .När
matlagningen börjar lida mot sitt slut rekommenderar vi attdu
stänger av hällen och avslutar matlagningen med hjälp
avtillagningszonernas restvärme.
Obs! När strömmen har brutits slocknar indikatorn för
kvarvarandevärme helt även om yttemperaturen är högre än 60°
C.
. ANVÄNDA DEN EXTRA TILLAGNINGSZONEN
(TVÅ ZONER)
Tillagningszonen med två zoner
finns vissa modeller. .............................
>
När tillagningszonen är i funktion är hela den extra
tillagningszonenaktiv.
Avaktivera den extra tillagningszonen:
- Tryck igen på knappen "8" för den extra tillagningszonen.
Motsvaran de kontrollampa slocknar när den extra
tillagningszonen avaktiveras.
Återaktivera den extra tillagningszonen:
- Tryck på knappen "7" för den extra tillagningszonen. Led-lampan
tänds igen.
. PROGRAMMERA EN TILLAGNINGSZON (enligt modell)
Alla tillagningszoner kan programmeras till max. 99 minuter.
Dukan endast programmera en zon i taget.
-Aktivera den önskade zonen genom att följa
ovanståendeinstruktioner.
-Tryck samtidigt "-" och "+" för att aktivera timer, " " visas.
- Ange tid i minuter mellan 0 och 99 genom att trycka på "+"
knappen igen, eller minska tiden från 30 minuter till 0 genom att
trycka på ”-”.
--> Du kan när som helst ändra den programmerade
När tiden har gått stängs tillagningszonen av automatiskt och en
ljudsignal hörs under 1 minut. Tryck på valfri knapp för att stänga
av den.
--> Timern kan användas utan tillagnings zon, som en
påminnelse, den avger en signal efter den programmerade
tiden.
LED
TYP
B
LED
TYP
B
75 SE
7
7
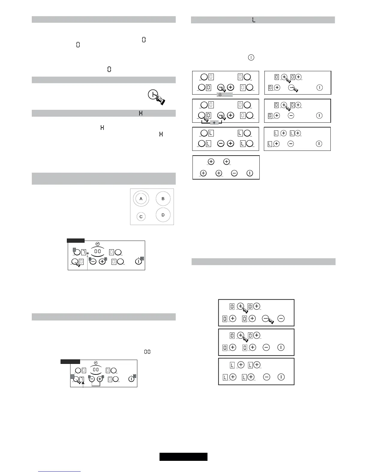
. LÅSA KNAPPARNA
Låsfunktionen förhindrar att barn kan aktivera hällen.Den
används även vid rengöring av reglagepanelen.
Så här låser du hällen:
- Tryck på/av-knappen .
4 zoner 3 zoner
. Hällen låses och låsindikatorn "L" visas föralla zoner i 20
sekunder.
Ifall kokzonen är på nivån "het", blinkar "L" och "H" turvis.
Så här låser du upp hällen:
För hällar med 4 zoner, för att öppna låset, följ samma procedur.
För hällar med 3 zoner, följ samma procedur, men i sista fasen tryck på
"-" istället för "+"
och indikationen "L" försvinner.
Kokplattan är öppen för användning och återgår till stand-by läge.
2 sek
. LÅSA KNAPPARNA / MODELL CH64
Låsfunktionen förhindrar att barn kan aktivera hällen.Den
används även vid rengöring av reglagepanelen.
Så här låser du hällen:
- Tryck på på/av-knappen:
. Hällen låses och låsindikatorn "L" visas föralla zoner i 20 sekunder.
Ifall kokzonen är på nivån "het", blinkar "L" och "H" turvis.
Så här låser du upp hällen:
För hällar , följ samma procedur, men i sista fasen tryck på "-" istället
för "+"
och indikationen "L" försvinner.
Kokplattan är öppen för användning och återgår till stand-by läge.

Table of Contents

Related product manuals