EasyManua.ls Logo

Candy CI642CWTT - Page 69

Candy CI642CWTT
334 pages
Print Icon
To Next Page IconTo Next Page
To Next Page IconTo Next Page
To Previous Page IconTo Previous Page
To Previous Page IconTo Previous Page
Loading...
FR-9
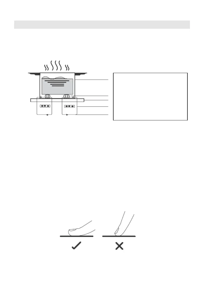
Un mot sur la cuisson à induction
La cuisson à induction est une technologie sûre, innovante, efficace et économique. Elle
fonctionne au moyen de vibrations électromagnétiques qui génèrent de la chaleur
directement dans la casserole plutôt qu’indirectement en chauffant la surface vitrée. La vitre
devient chaude uniquement parce que la casserole la chauffe.
Avant d’utiliser votre nouvelle table de cuisson à induction
Lisez ce guide en prenant note de la section « Consignes de sécurité ».
Enlevez tout film protecteur qui pourrait encore se trouver sur votre table de cuisson à
induction.
Utilisation des commandes tactiles
Les commandes répondent au toucher, vous n’avez donc pas besoin d’appuyer fort.
Utilisez le bout du doigt et non pas l’ongle.
Vous entendrez un bip à chaque fois qu’une touche est enregistrée.
Assurez-vous que les commandes sont toujours propres et sèches et qu’aucun objet (p.
ex. un ustensile ou un chiffon) ne les recouvre. Même un mince film d’eau peut rendre les
commandes difficiles à utiliser.
casserole en fer
circuit magtique
plaque de verre céramique
bobine d’induction
courants inductifs

Table of Contents

Related product manuals