EasyManua.ls Logo

Candy CIDMCS633TT - Page 46

Candy CIDMCS633TT
61 pages
Print Icon
To Next Page IconTo Next Page
To Next Page IconTo Next Page
To Previous Page IconTo Previous Page
To Previous Page IconTo Previous Page
Loading...
ES-16
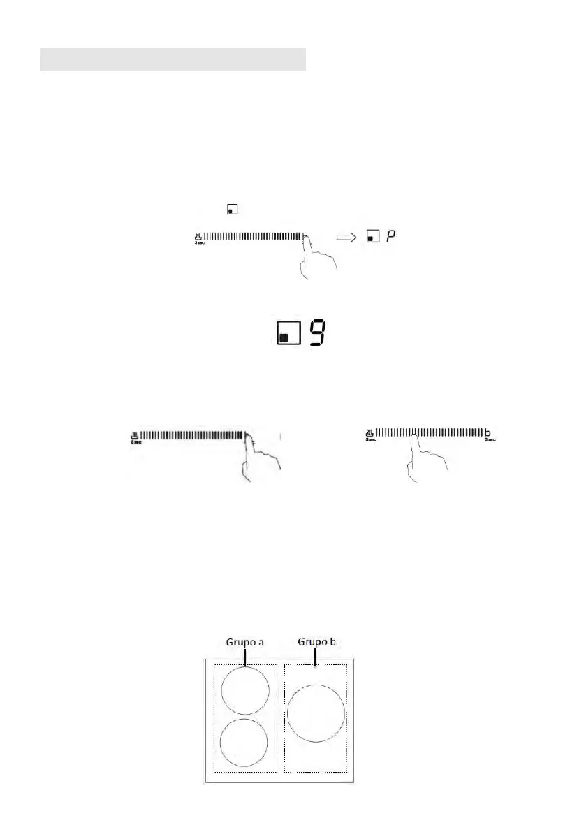
Uso de la potencia extra
La potencia extra incrementa la potencia en una zona en un segundo y dura 5
minutos. Permite cocinar con más potencia y rapidez.
Activación de la potencia extra
1. Toque el mando correspondiente a la zona en la que desee la potencia extra y
toque « durante 3 segundos. El visor de potencia mostrará «P» para indicar que
se está aplicando potencia extra en esa zona.
2. La potencia extra durará 5 minutos y, a continuación, la zona volverá a la
potencia aplicada «9».
3. Si desea cancelar la potencia extra durante esa fase de 5 minutos, toque el
mando «B» dos veces. La zona de cocción volverá a la potencia aplicada «9».
También puede deslizar el mando «—» hasta el extremo izquierdo y la zona de
cocción volverá a la potencia aplicada en la que ha tocado.
o
Restricciones durante el uso
Las tres zonas están divididas en dos grupos. Dentro de uno grupo, si usa la
potencia extra en una zona, asegúrese de que la otra zona no funcione por encima
del nivel 5.

Related product manuals