EasyManua.ls Logo

Candy CIS633DTT - Product Overview; Top View; Control Panel

Candy CIS633DTT
60 pages
Print Icon
To Next Page IconTo Next Page
To Next Page IconTo Next Page
To Previous Page IconTo Previous Page
To Previous Page IconTo Previous Page
Loading...
EN-8
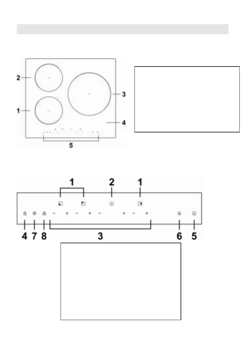
Product Overview
Top View
Control Panel
1.2000 W zone, boost to 2600W
2.1500 W zone, boost to 2000W
3.2300 W zone, boost to 3000W
4. Glass plate
5. Control panel
1. Heating zone selection indicator
2. Timer indicator
3. Power/timer regulating key
4. keylock control
5. ON/OFF control
6. Boost function control
7. Stop+Go control
8. Keep warm function control

Related product manuals