EasyManua.ls Logo

Candy cmw22dw - Page 73

Candy cmw22dw
87 pages
Print Icon
To Next Page IconTo Next Page
To Next Page IconTo Next Page
To Previous Page IconTo Previous Page
To Previous Page IconTo Previous Page
Loading...
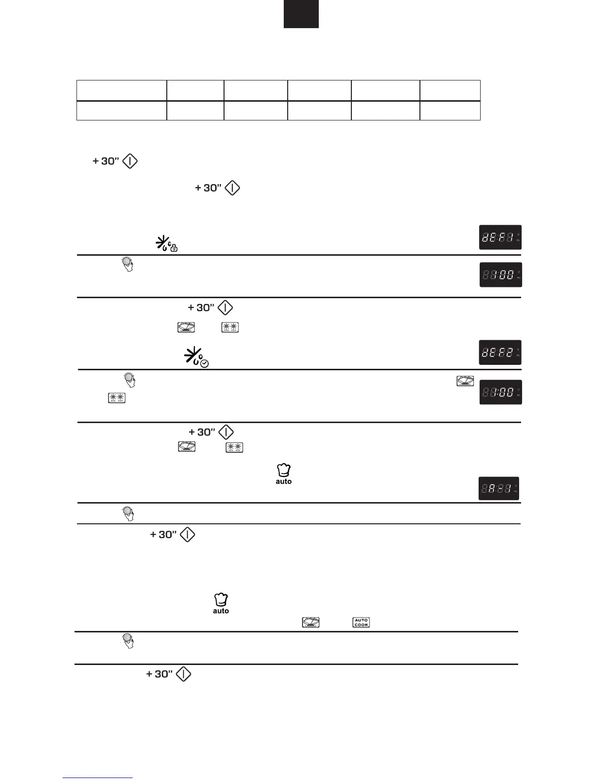
Tabla de las potencias del horno de microondas
Presione
Una vez
Dos veces Tres veces
4 veces
5 veces
Potencia del
microodas
3. Puesta en marcha rápida y aumento del tiempo de cocción
Cuando el horno se encuentra en posición de espera, presione la tecla
" para comenzar la cocción a la potencia máxima del microondas
durante 30 segundos. El tiempo de cocción aumentará de 30 segundos cada vez
que presione la tecla " "; el tiempo máximo que se puede
programar es de 95 minutos.
Nota: La función no se activará en caso de cocciones con otros programas.
4. Descongelamiento según el peso
1) Presione " " una vez; el LED visualizará "dEF1".
2) Gire " " para seleccionar el peso del alimento que debe descongelar.
Contemporáneamente “g” estará encendido. El peso deberá estar comprendido
entre 100 y 2000 gr.
3) Presione la tecla " " para comenzar el descongelamiento.
Los indicadores " " y " " titilarán y el indicador “g” se apagará.
5. Descongelamiento según el tiempo
1) Presione la tecla " " una vez, el LED visualizará "dEF2".
2) Gire " " para seleccionar el tiempo de cocción. Contemporáneamente, " "
y "
" estarán encendidos. El tiempo que se puede programar va de
nivel de potencia establecido es P30 y no puede ser programado.
3) Presione la tecla " " para comenzar el descongelamiento.
Los indicadores " " y " " titilarán.
6. Menúes Automáticos de Cocción
1) En posición de espera, presione "
1","A-2"...."A-8" serán visualizados en este orden.
2) Gire " " para seleccionar el peso o la porción del menú.
3) Presione " " para comenzar la cocción. Al finalizar la
cocción, una señal acústica emitirá cinco sonidos. Si el reloj ha sido programado
con anterioridad, será visualizado el timpo en curso; de lo contrario será visualizado
0:00.
80% 50% 30% 10%100%
00:05 a
95:00. El
" para elegir el menú deseado.
"A-
Por ejemplo: cocer 150 gr. de pasta
1) Presione tres veces " ", será visualizado "A-3" y el menú para la pasta
habrá sido seleccionado. Los indicadores " " y " " estarán encendidos.
2) Gire " " para seleccionar el peso del menú. Deje de girar cuando será
visualizado "150".
3) Presione " " para comenzar la cocción.
Al finalizar la cocción, una señal acústica emitirá cinco sonidos. Luego, vuelva a
poner el botón de mando en posición de espera.
"
ES
72

Related product manuals