EasyManua.ls Logo

Caple WI3150 - Installing the Top Fixing Bracket

Caple WI3150
32 pages
Print Icon
To Next Page IconTo Next Page
To Next Page IconTo Next Page
To Previous Page IconTo Previous Page
To Previous Page IconTo Previous Page
Loading...
23Instruction manual Wi3150Please keep this instruction manual for future reference
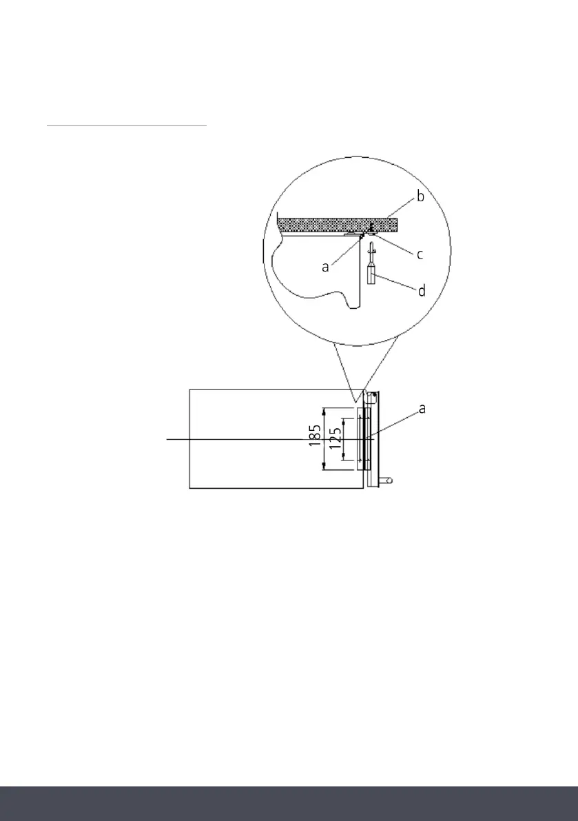
INSTALLING THE TOP FIXING BRACKET
This bracket will keep the product secure and help prevent it moving when in use.
After installing the wine cabinet, please open the door, adjust the fixing bracket and fix this
into the work surface with three screws using a screwdriver.
A. Top Fixing Bracket
B. Work Surface
C. Screw
D. Screwdriver

Related product manuals