EasyManua.ls Logo

Carrier 45J - SERVICE AND MAINTENANCE; FAN MOTOR AND WHEEL SERVICE; FAN MOTOR MAINTENANCE

Carrier 45J
24 pages
Print Icon
To Next Page IconTo Next Page
To Next Page IconTo Next Page
To Previous Page IconTo Previous Page
To Previous Page IconTo Previous Page
Loading...
22
SERVICE
Controls
No periodic preventive maintenance is necessary.
Fan Motor and Wheel
The fan motor and wheel are accessible from the bottom of
the unit. Remove the bottom panel to check the wiring or remove
the fan wheel or motor.
The PSC motors are equipped with long life sleeve bearings
with non-detergent SAE 20 oil biannually.
NOTE: The ECM motor has permanently lubricated ball bear-
ings that require NO maintenance.
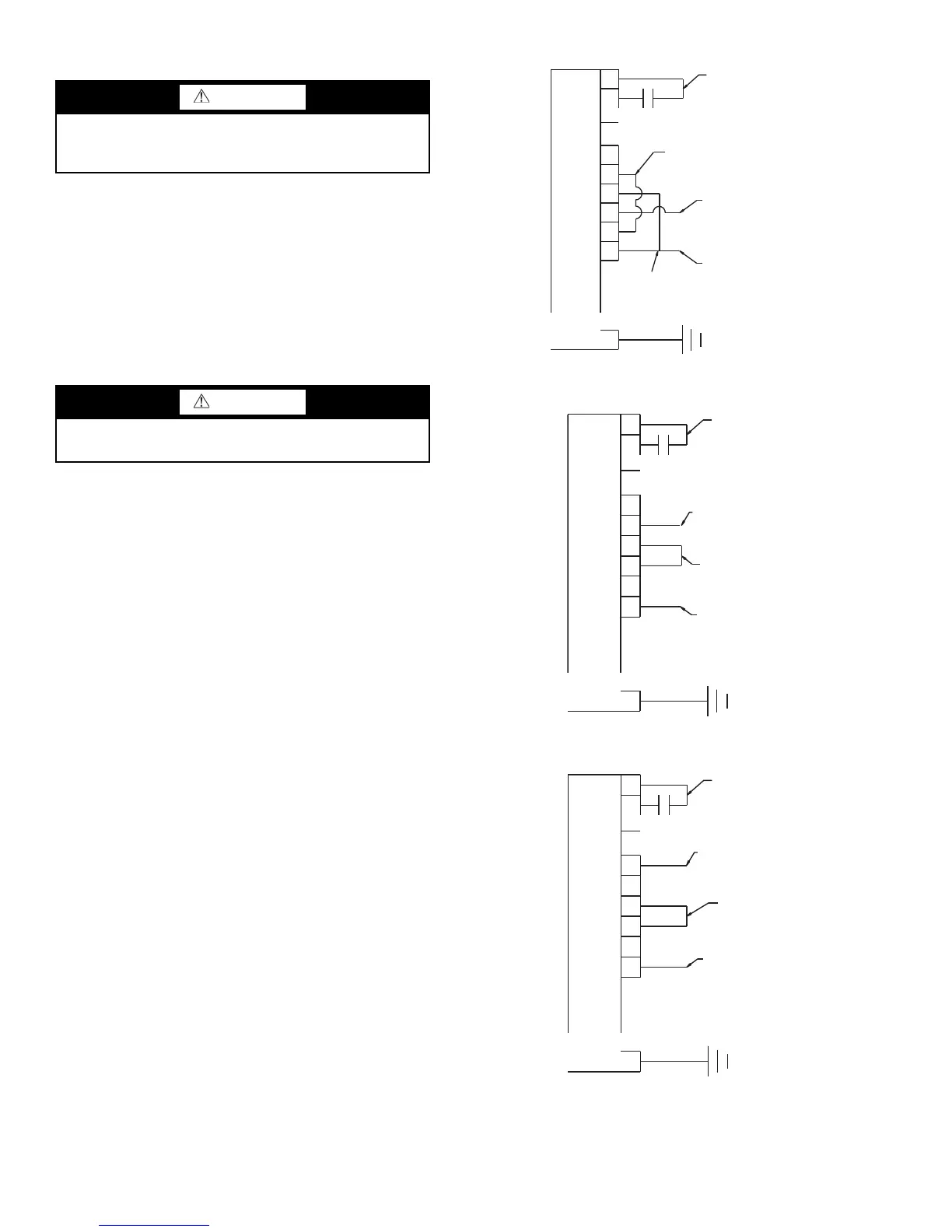
TO CHECK WIRING (REFER TO FIG. 18-20)
The PSC motor is connected by quick-connect terminals to
the capacitor (brown wire), the housing wire (green ground
wire), and the control box (black wire and white wire). Verify
that the fan motor wiring is correct as shown in these figures.
TROUBLESHOOTING
To remove the fan motor and wheel:
1. Disconnect motor wiring.
2. The fan motor and wheel assembly is attached to the dis-
charge panel with 4 hex nuts.
3. Remove the motor by removing the 3 screws that attach the
torsion flex mounts to the inlet ring.
4. Remove wheel by unscrewing the hub set screws that are
accessed through the open end of the wheel.
Fan Motor Wiring
Refer to the fan motor wiring details shown on the wiring
diagram attached to the unit. Failure to reconnect the fan
properly can cause damage to the motor and/or serious per-
sonal injury.
Fan Motor Maintenance
Unit motors are equipped with permanently lubricated bear-
ings. Inspect fan and motor assembly for accumulation of dust
and dirt as required by operating environment. Clean as neces-
sary. See Fig. 18-20 for motor wiring.
Fig. 18 — PSC Motor Wiring Terminal Block —
115 V, Single Phase
Fig. 19 — PSC Motor Wiring Terminal Block —
208/240 V, Single Phase
Fig. 20 — PSC Motor Wiring Terminal Block —
277 V, Single Phase
WARNING
LOCK OPEN AND TAG heater electrical disconnect
before working on this equipment. Otherwise, one leg of
the 3-leg heater remains energized.
WARNING
Disconnect power to unit before touching fan motor wir-
ing, or electrical shock or personal injury could result.
MOTOR
CRIMPTIE WIRE 1
AND WIRE 4
Green
BLACK #12
BLACK #12
TO
SCR CONTROLLER
BROWN TO
CAPACITOR
WHITE #12 TO
TERMINAL BLOCK/
DISCONNECT SWITCH
MOTOR
1 2 3 4 5 6
GREEN
BLACK #12
BLACK #12
TO
SCR CONTROLLER
BROWN TO
CAPACITOR
WHITE #12 TO
TERMINAL BLOCK/
DISCONNECT SWITCH
MOTOR
1 2 3 4 5 6
BLACK #12
BLACK #12
TO
SCR CONTROLLER
GREEN
BROWN TO
CAPACITOR
WHITE #12 TO
TERMINAL BLOCK/
DISCONNECT SWITCH

Related product manuals