EasyManua.ls Logo

Carrier 48PG20 - Page 46

Carrier 48PG20
112 pages
Print Icon
To Next Page IconTo Next Page
To Next Page IconTo Next Page
To Previous Page IconTo Previous Page
To Previous Page IconTo Previous Page
Loading...
46
Outdoor fan control for Humidi-MiZer system units
includes a Motormaster® variable-speed control of some or all
outdoor fans, depending on unit model size. The Motormaster
control automatically adjusts the outdoor fan speed to maintain
approximately 80 to 100 F condenser temperature for circuit A
at all outdoor ambient temperatures. Some model sizes have
additional on/off staging of some outdoor fans. This staging is
controlled by both outdoor temperature and condenser coil
temperature.
Compressor staging control for Humid-MiZer units requires
that circuit A always operate when circuit B is on. This applies
to normal operation, service test, and for control alarm respons-
es. This operation difference is required due to the fact that the
Motormaster outdoor fan control senses circuit A only.
SETTING UP THE SYSTEM — The system requires instal-
lation and configuration of either a space relative humidity
sensor or a relative humidity switch input.
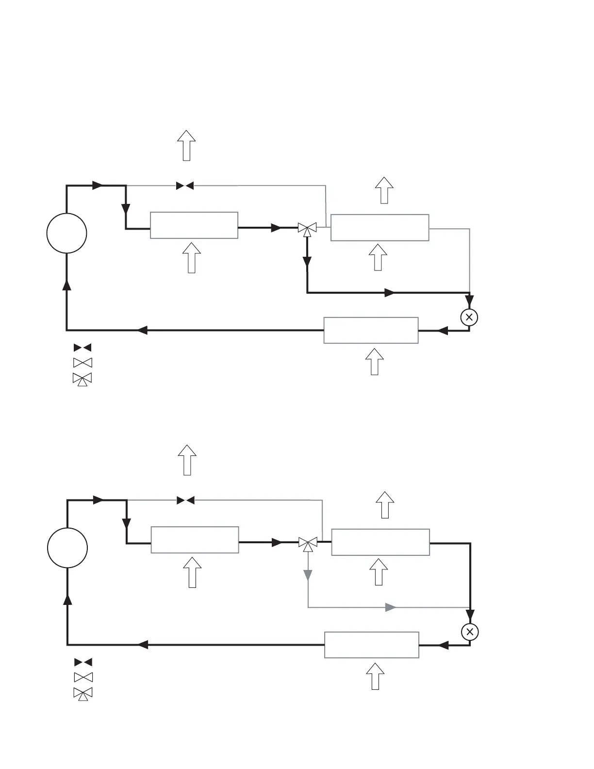
COMP
COND COIL
HUMIDI-MIZER COIL
EVAP COIL
INDOOR ENTERING
AIR
OUTDOOR AIR
METERING
DEVICE
CLOSED VALVE
OPEN VALVE
3-WAY VALVE
RH1.x
RH2.x
COMP
COND COIL
HUMIDI-MIZER COIL
EVAP COIL
INDOOR ENTERING
AIR
OUTDOOR AIR
METERING
DEVICE
CLOSED VALVE
OPEN VALVE
3-WAY VALVE
RH1.x
RH2.x
Fig. 6 — Normal Cooling Mode — Humidi-MiZer™ System
Fig. 7 — Subcooling Mode (Reheat1) — Humidi-MiZer System
a48-8222
a48-8223

Table of Contents

Related product manuals