EasyManua.ls Logo

Carrier 48PG20 - Page 84

Carrier 48PG20
112 pages
Print Icon
To Next Page IconTo Next Page
To Next Page IconTo Next Page
To Previous Page IconTo Previous Page
To Previous Page IconTo Previous Page
Loading...
84
TO MAIN
BASE BOARD
RED
BLK
RED
BLK
RED
BLK
SENSOR 1
SENSOR 2
SENSOR 3
RED
BLK
SENSOR 6SENSOR 5
RED
BLK
SENSOR 4
RED
BLK
RED
BLK
RED
BLK
SENSOR 8SENSOR 7 SENSOR 9
1
RED
BLK
TB2-T55
SENSOR 1 SENSOR 2 SENSOR 3 SENSOR 4
RED
BLK
RED
BLK
RED
BLK
RED
BLK
TO MAIN
BASE BOARD
RED
BLK
TB2-T55
1
2
2
T-55 SENSOR 1 T-55 SENSOR 2 T-55 SENSOR 3 T-56 SENSOR 4
RED
BLK
RED
BLK
RED
BLK
RED
BLK
TO MAIN
BASE
BOARD
RED
BLK
TB2-T55
1
2
TO MAIN
BASE
BOARD
3
TB2-T55
WHT
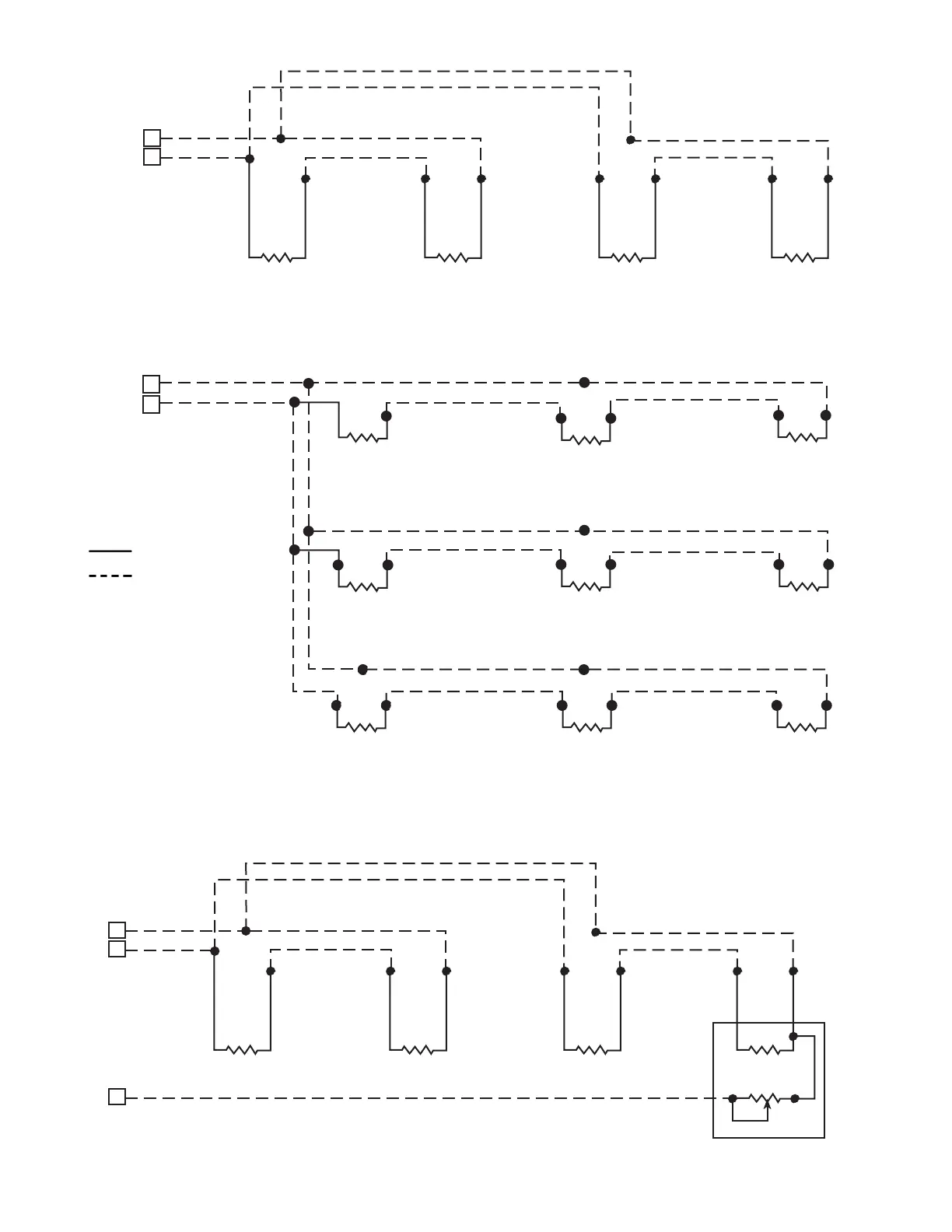
SPACE TEMPERATURE AVERAGING — 9 T-55 SENSOR APPLICATION
Fig. 34 — Space Temperature Sensor Averaging
LEGEND
TB Terminal Block
Factory Wiring
Field Wiring
Fig. 35 — Space Temperature Sensor Averaging with 3 T-55 Sensors and One T-56 Sensor
SPACE TEMPERATURE AVERAGING — 4 T-55 SENSOR APPLICATION
a48-7780
a48-7781

Table of Contents

Related product manuals