EasyManua.ls Logo

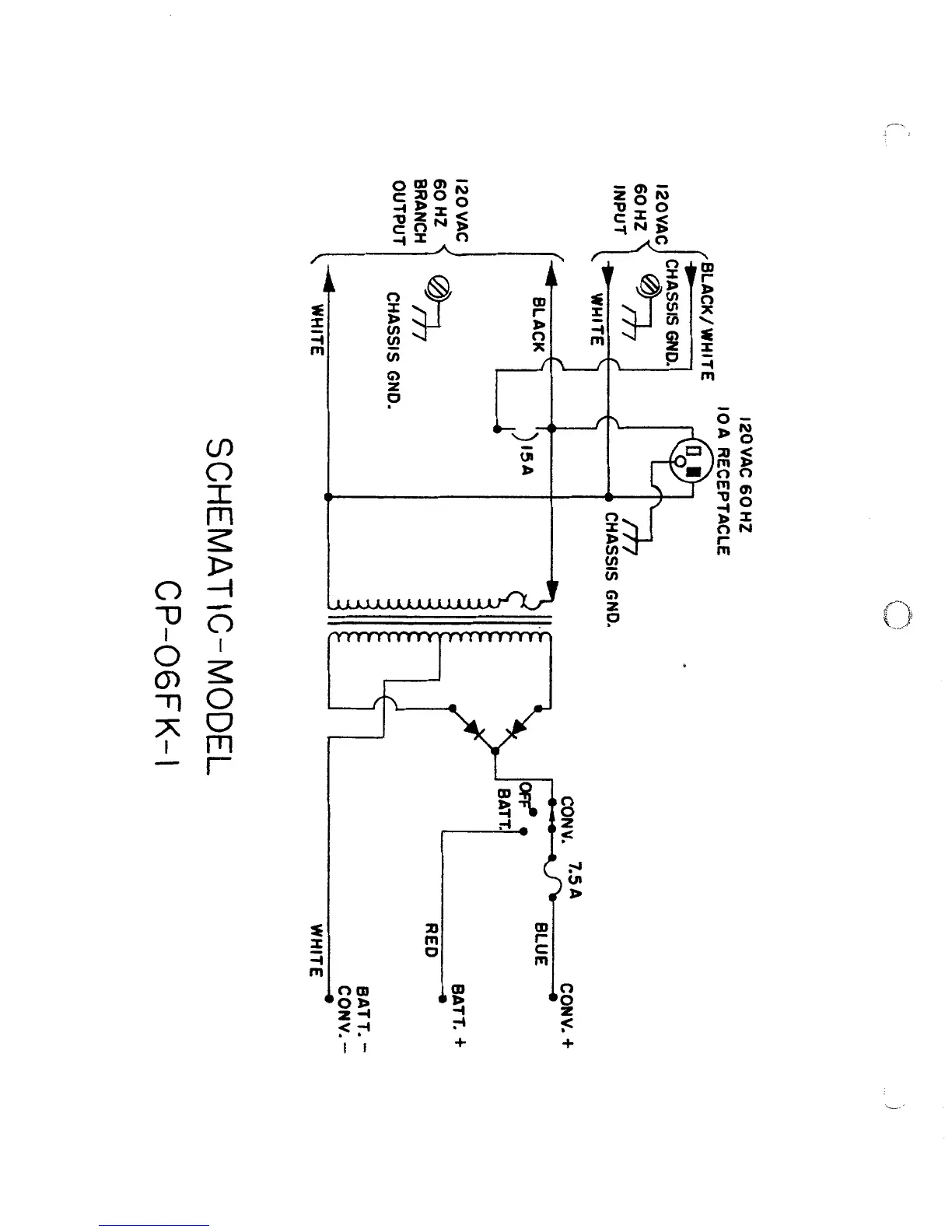
Carson CP-06FK-1 - Schematic Diagram

Carson CP-06FK-1
7 pages
Print Icon
To Next Page IconTo Next Page
To Next Page IconTo Next Page
To Previous Page IconTo Previous Page
To Previous Page IconTo Previous Page
Loading...