EasyManua.ls Logo

Case IH MAXXUM 110 - Consumables, Lubrications, and Coolants

Case IH MAXXUM 110
81 pages
Print Icon
To Next Page IconTo Next Page
To Next Page IconTo Next Page
To Previous Page IconTo Previous Page
To Previous Page IconTo Previous Page
Loading...
INTRODUCTION
ConsumablesLubricationsandCoolants
Lubrications
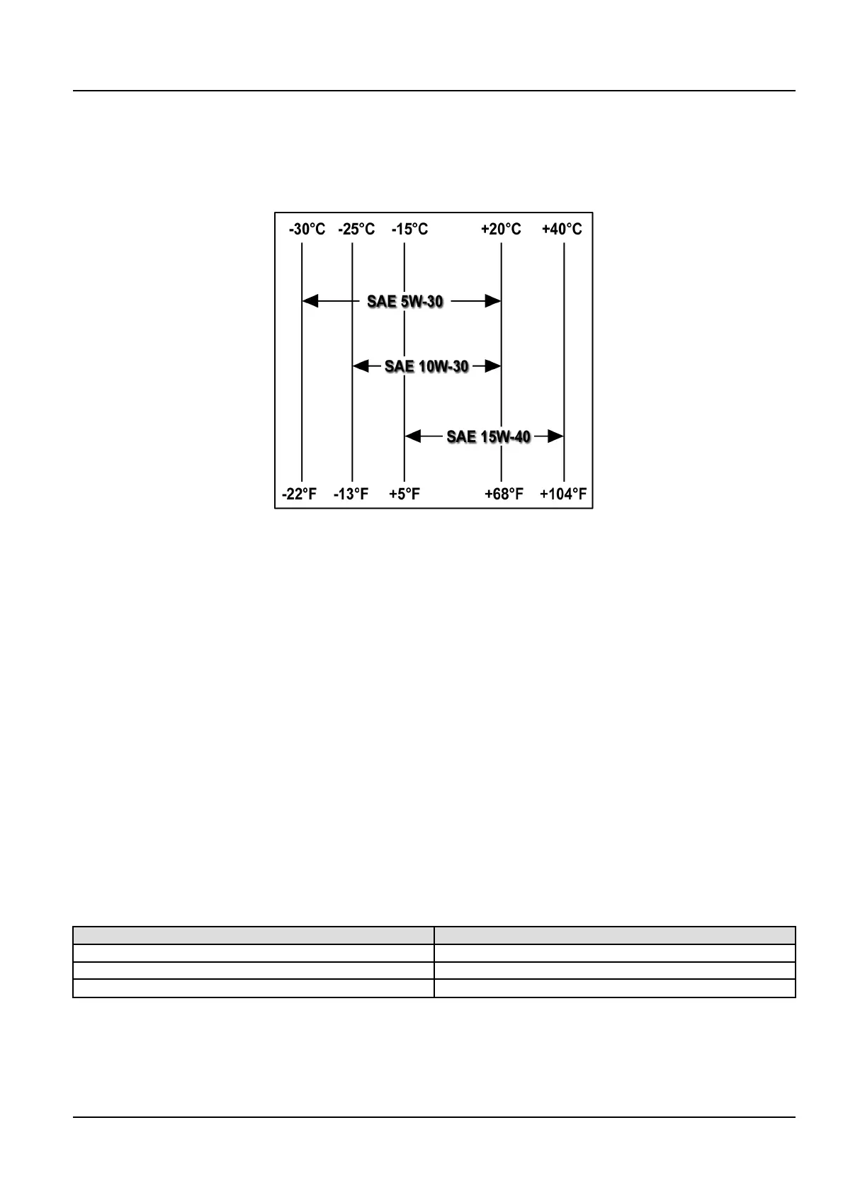
Thecorrectengineoilviscositygradeisdependentuponambienttemperature.Refertothechartwhenselectingoil
foryourtractorengine.
SS09J0761
NOTE:Inareaswhereprolongedperiodsofextremetemperaturesareencountered,locallubricantpracticesare
acceptable;suchastheuseofSAE5W-30inextremelowtemperaturesorSAE50inextremehightemperatures.
BiodegradableTransmissionandHydraulicOil
Abiodegradableoilhasbeenapprovedforuseinthetransmission,4WDfrontaxleandhubs,andthehydraulicsystem
ofyourtractor.Althoughtheoilis90%biodegradable,itisimportanttofollowsafehandlinganddisposalpractices.
Biodegradableoilshouldnotbeusedinconjunctionwithotheroils.Usethefollowingproceduretoreplacestandard
oilwithbiodegradablelubricant.
1.Operatethetractoruntiltheoilthatisbeingchangedreachesatemperaturegreaterthan60°C(140°F).
2.Stoptheengineandimmediatelydraintheoil.
3.Replacealltransmissionandhydrauliclters.
4.Addthebiodegradableoiltothecorrectlevelandrunthetractortocirculatetheoil.
5.Checkforoilleaksandrechecktheoillevel.
SulphurinFuel
TheengineoilandlterchangeperiodareshownintheLubricationandMaintenanceintheoperatorsmanual.How-
ever,locallyavailablefuelmayhaveahighsulphurcontent,inwhichcasetheengineoilandlterchangeperiod
shouldbeadjustedasfollows:
SulphurContent%OilChangePeriod
Below0.5Normal
From0.5-1.0
Halfthenormal
Above1.0
Onequarternormal
NOTE:Theuseoffuelwithasulphurcontentabove1.3%isnotrecommended.
84276322A31/05/2010
25