EasyManua.ls Logo

CAT C32 - Page 40

CAT C32
46 pages
Print Icon
To Next Page IconTo Next Page
To Next Page IconTo Next Page
To Previous Page IconTo Previous Page
To Previous Page IconTo Previous Page
Loading...
Technical CATERPILLAR – 1000 kVA Page
40
Description UTILITY POWER MODULE
Revision 1.0 1 May 2006
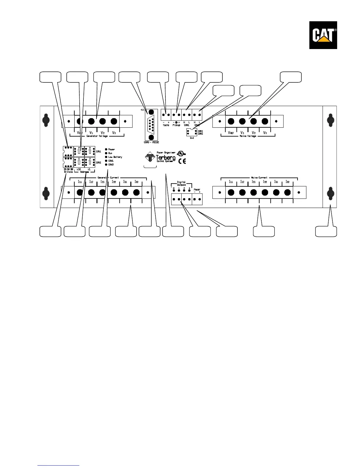
Terminals and connections:
1. Dipswitch for CAN 1 Bitrate (125,250, 500 Kbit).
2. Dipswitches for card address CAN 1.
3. Barrier strip connector for generator voltages.
4. Serial communication (standalone or monitor).
5. Connector for Tacho (0..10V).
6. Connector for Pickup with LED indication.
7. Connector for CAN 1.
8. Connector for CAN 2.
9. End of bus dipswitch for CAN 1 and 2.
10. Barrier strip connector for mains voltages.
11. Dipswitch for CAN 2 Bitrate (125,250, 500 Kbit).
12. Dipswitches for card address CAN 2.
13. LED indication for Power, Run, Low Battery, CAN 1 and CAN 2.
14. Barrier strip connector for generator currents.
15. Drawing reference code.
16. Logo and description
17. 4 Digital outputs with LED indication.
18. Supply voltage.
19. Barrier strip connector for mains current.
20. Chassis ground connection (4 connection points; one in each corner).
3 4 5 6 7
8
16 13 14 17 18 19
10
9
1 2
11 12 20 15

Related product manuals