EasyManua.ls Logo

Cata CTR-30-M - Introdução Ao Produto

Cata CTR-30-M
Print Icon
To Next Page IconTo Next Page
To Next Page IconTo Next Page
To Previous Page IconTo Previous Page
To Previous Page IconTo Previous Page
Loading...
3
2. INTRODUÇÃO DE PRODUTO
2.1 Nomenclatura
- -
NOTA
Este manual é aplicável aos aquecedores de água elétricos (D *-***) fabricados por esta
empresa.
é o código de produto do aquecedor de água elétrico de armazenamento;
é a capacidade (L);
representa a potência nominal (*100 W);
representa um código de padrão (por exemplo: A, B, C...);
representa a extensão do padrão (por exemplo: 1, 2, 3...);
Modelo
Tensão
Nominal
(V CA)
IPX4750.75
220-240
220-240
220-240
220-240
1500CTR-30-M
Potência
Nominal
(W)
Volume
(L)
Pressão
Nominal
(MPa)
Temperatura
Máxima
da Água (°C)
Classe de
Proteção
Grau de
Resistência
à Água
2.2 Parâmetros de Desempenho Técnico
I
IPX4750.751500CTR-50-M
I
IPX4750.751500
1500
30
50
80
100
CTR-80-M
CTR-100-M
I
IPX4750.75
I
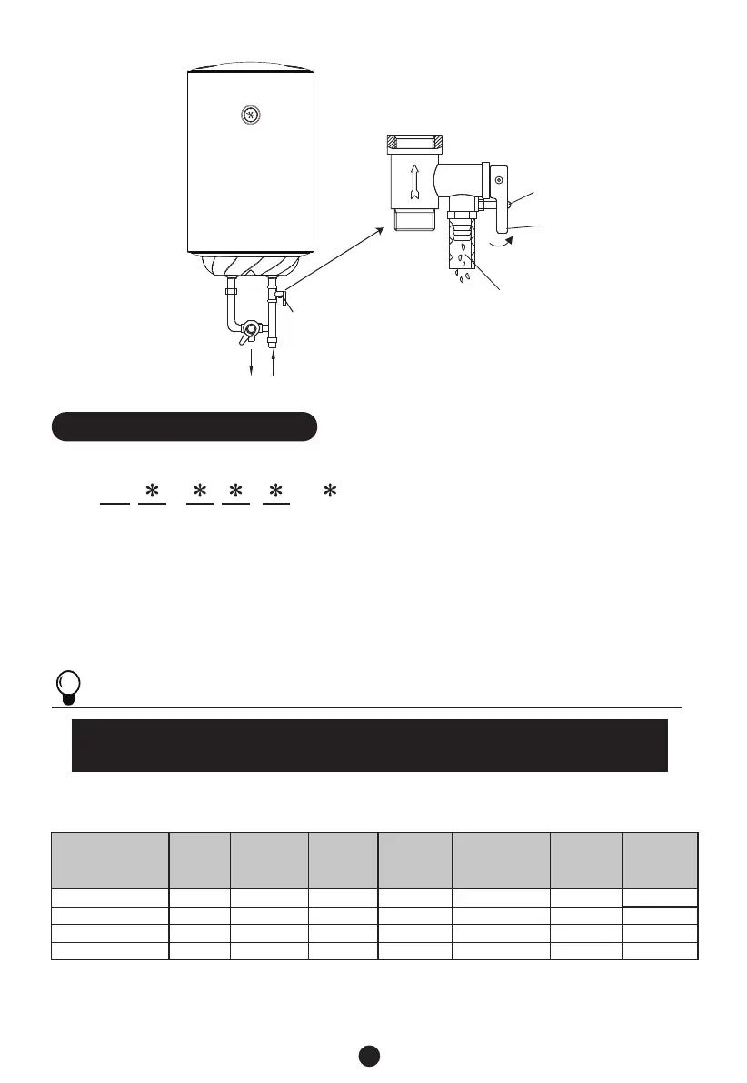
(Fig.1)
Parafuso roscado
Alavanca de drenagem
Orifício de alívio de pressão
Água quente
Água fria
Válvula de alívio
de pressão
D