EasyManua.ls Logo

Cata MT-100 - Page 19

Cata MT-100
20 pages
Print Icon
To Next Page IconTo Next Page
To Next Page IconTo Next Page
To Previous Page IconTo Previous Page
To Previous Page IconTo Previous Page
Loading...
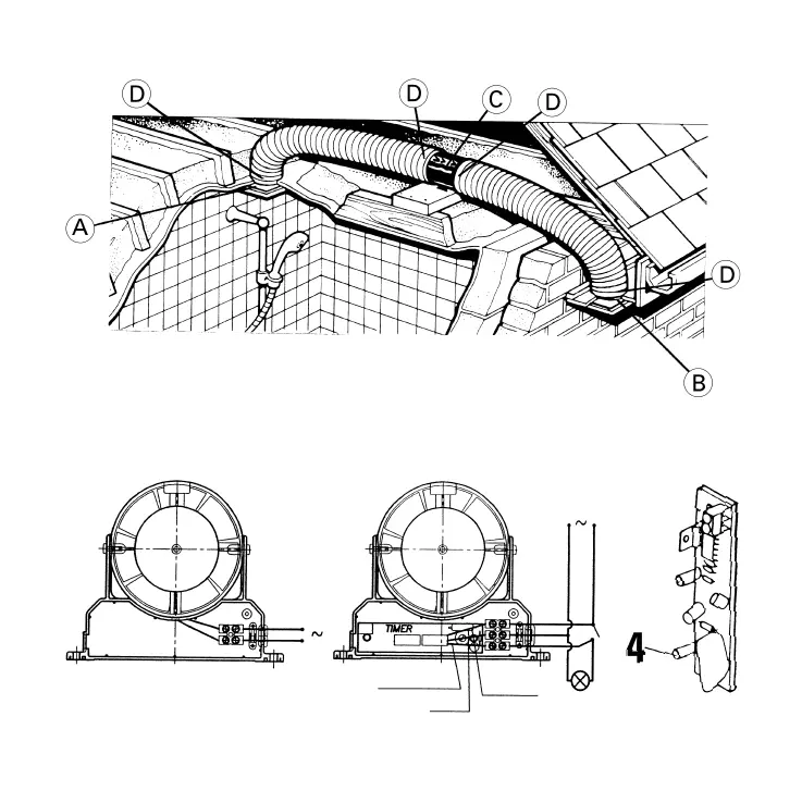
ELEKTRISCHER ANSCHLUSS
Der Abzug ist an ein Einsphasennetz anzuschließen, dessen Spannung und Frequenz mit den auf dem
Typenschild des Abzugs angegebenen Werten übereinstimmen.
1) Lockern Sie die Schraube (A), bis Sie den Deckel (B) abnehmen können.
2) Machen Sie ein Loch in di Bohrlochabdeckung (C), und ziehen Sie die Netzkabel durch.
3) Schließen Sie die Netzkabel an die Klemmen an der Anschlußleiste (D) an. Positionieren Sie die
angeschlossene Leiste zwischen den Zapfen (E), damit sie fest sitzt.
4) Bringen Sie die Bohrlochabdeckung (C) an der dafür vorgesehenen Stelle zwischen Gehäuse (F) und
Deckel (B) an.
5) Bringen Sie den Deckel (B) and, und befestigen Sie ihn mit der Schraube (A).
Das Gerät muß über ein Kabel für feste Installationen ständig an eine Leitung angeschlossen sein. (Starres
Zweipoliges Kabel mit einem Leiterquerschnitt zwischen 1 und 1,5 mm2).
Eine Erdung ist nicht notwendig, da das Gerät doppelt isoliert ist. (Klasse II). IPX2
Typ TIMER: IPX2
Wird Zapfen (4) im Uhrzeigersinn verdreht, verlängert sich die Timer-Zeit.
ESQUEMAS DE CONEXIONADO • ANSCHLUSS
SCHÉMAS DE BRANCHEMENT • CONNECTION LAYOUT
SCHEMI DI COLLEGAMENTO • AANSLUITSCHEMA'S
ESQUEMAS DAS LIGAÇÕES
Fig. 1
KIT MT-100
KIT MT-125
KIT MT-100 TIMER
KIT MT-125 TIMER
Negro / Schwarz
Noir / Black
Nero / Zwart
Preto
Azul / Blau
Bleu / Blue
Blu / Blauw
Azul
Marrón / Braun
Marron / Brown
Marr
one / Bruin
Castanho
Luces u otra carga / Leuchtanzeige o.ä.
Lumières vers une autre charge / Lights to other charge
Lampje naar andere belasting
Luzes a outra carga
60801640.03.02.2005 28/2/05 12:12 Página 10

Other manuals for Cata MT-100

Related product manuals