EasyManua.ls Logo

Cedar Ridge CRHEB30RT - REMOTE CONTROL SYSTEM

Default Icon
36 pages
Print Icon
To Next Page IconTo Next Page
To Next Page IconTo Next Page
To Previous Page IconTo Previous Page
To Previous Page IconTo Previous Page
Loading...
www.usaprocom.com
23200015-01B
AA
AA
AA
AAA
AAA
AA
REMOTE
OFF
ON
LEARN
LEARN
REMOTE OFF
ON
OPERATION
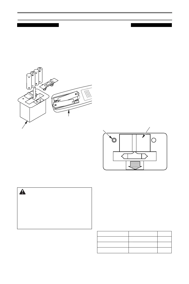
Figure 27 - Installing Batteries in Remote
Control and Receiver
Figure 28 - Receiver
REMOTE CONTROL SYSTEM
Install Batteries
Batteries are required in both the Remote
Control (Transmitter) (2 AAA size) and Re-
ceiver (4 AA size) (see Figure 27).
Note: Be sure batteries are placed correctly.
Reversing the batteries can cause damage to
the receiver and remote. Replace all batteries
on a yearly basis or sooner.
Receiver
Remote Control
(Transmitter)
Slide Switch
Learn Button
2. Place the slide switch on the receiver in
the remote position (see Figure 28).
3. Use a pen or small screwdriver to gently
press and release the recessed LEARN
button on the face of the receiver. You will
hear a beep.
4. Press the ON button on the remote (see
Figure 28). You will hear a series of beeps.
Your appliance should come on.
Matching Security Codes
When matching security codes, be sure slide
switch on the receiver is in the REMOTE
position. To program the remote receiver
to LEARN a new security code, press and
release the LEARN button on the top of the
remote receiver, and then press ON or OFF
button on the transmitter. A change in the
beeping pattern at the receiver, indicates the
transmitters code has been programmed into
the receiver.
Programming the Remote and
Receiver
The remote and receiver must be “learned”
to one another.
1. Turn control knob on the heater to the ON
position.
Battery Instructions
CAUTION: Do not mix old and
new batteries. Do not mix alka-
line, standard (carbon - zinc), or
rechargeable (nickel - cadmium)
batteries. Do not dispose of
batteries in re, batteries may
explode or leak.
Batteries are included.
Remove batteries when depleted.
Install/replace the batteries according to the
type and quantity stated in table to the right.
Do not mix old and new batteries. New bat-
teries should be the same brand for best
results.
Be sure to observe proper polarity (+/-)
when installing or replacing the batteries.
Damage due to improper battery installation
may void the warranty on the product.
For remote control systems, maximize bat-
tery life by turning off the receiver when it
is not in use.
For long periods of non-operation, remove
batteries from all components for safety.
Component Type of Battery Qty.
Ignitor AAA 1
Remote Control AAA 2 or 3*
Remote Receiver AA 4
*Note: Quantity depends on model of remote
Control.

Related product manuals