EasyManua.ls Logo

CellarPro 3000S - Page 46

CellarPro 3000S
58 pages
Print Icon
To Next Page IconTo Next Page
To Next Page IconTo Next Page
To Previous Page IconTo Previous Page
To Previous Page IconTo Previous Page
Loading...
 46
V8.18
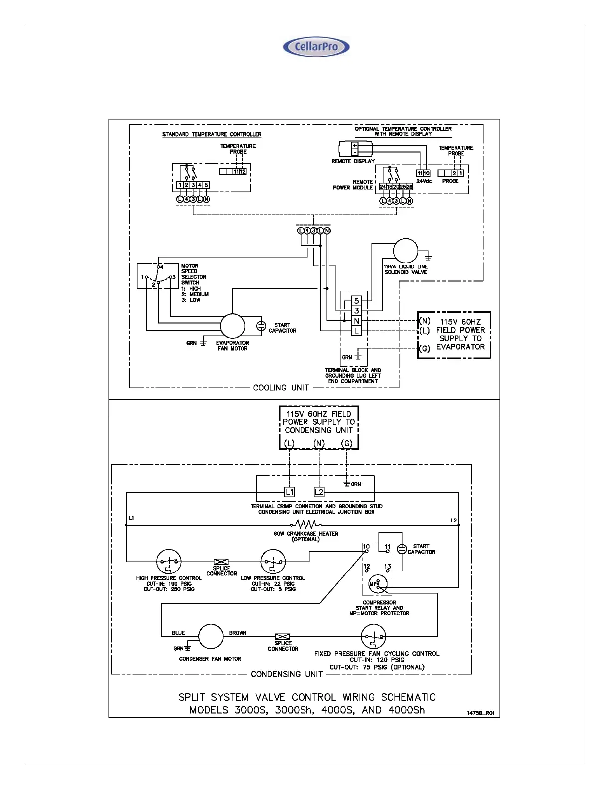
Wiring Diagram - Models 3000S, 3000Sh, 4000S, 4000Sh Appendix A
– Dual Power / Valve Control
– Standard & Remote Controller

Related product manuals