EasyManua.ls Logo

CellarPro 3000S - Page 52

CellarPro 3000S
58 pages
Print Icon
To Next Page IconTo Next Page
To Next Page IconTo Next Page
To Previous Page IconTo Previous Page
To Previous Page IconTo Previous Page
Loading...
 52
V8.18
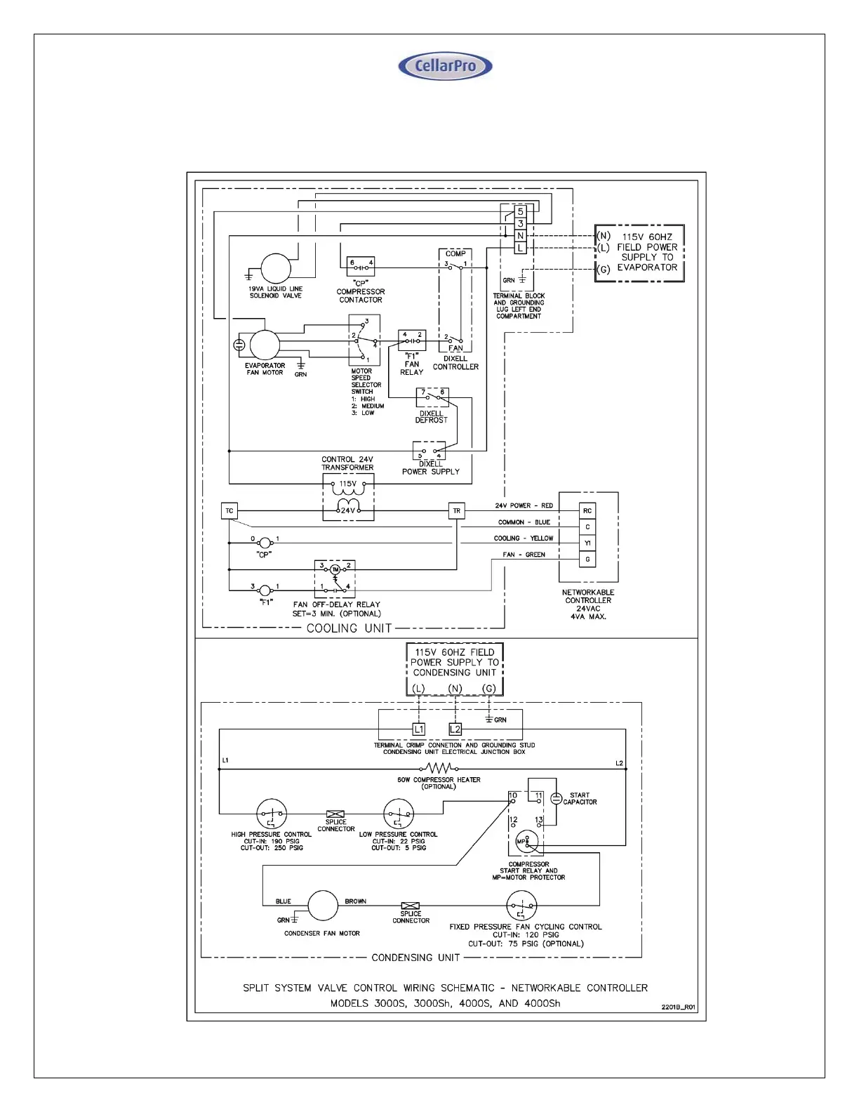
Wiring Diagram - Models 3000S, 3000Sh, 4000S, 4000Sh Appendix G
– Dual Power / Valve Control
– Networkable Thermostat Upgrade

Related product manuals