EasyManua.ls Logo

CellarPro 4000S - Appendix D: Model 3000 S;3000 Sh;4000 S;4000 Sh Single Power Electronic Control Wiring

Default Icon
58 pages
Print Icon
To Next Page IconTo Next Page
To Next Page IconTo Next Page
To Previous Page IconTo Previous Page
To Previous Page IconTo Previous Page
Loading...
 49
V8.18
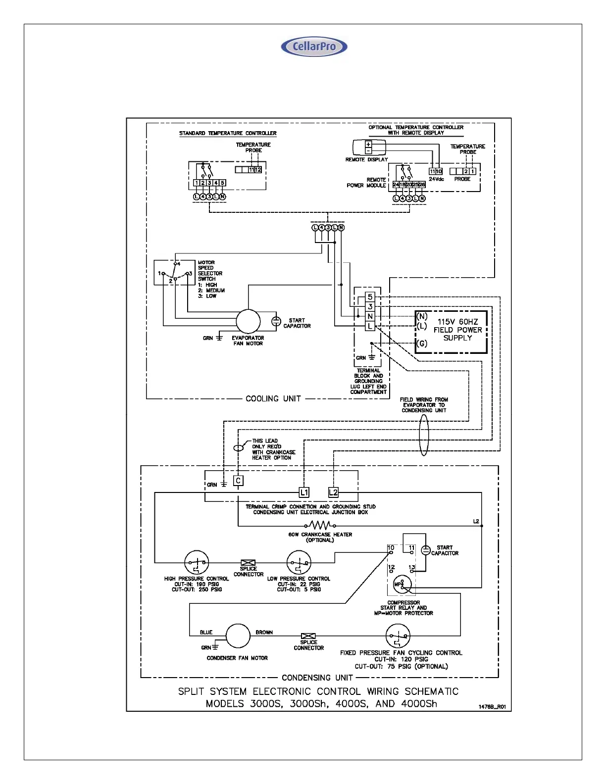
Wiring Diagram – Models 3000S, 3000Sh, 4000S, 4000Sh Appendix D
– Single Power / Electronic Control
– Standard & Remote Controller

Related product manuals