EasyManua.ls Logo

Celsi Electriflame - Page 3

Default Icon
8 pages
Print Icon
To Next Page IconTo Next Page
To Next Page IconTo Next Page
To Previous Page IconTo Previous Page
To Previous Page IconTo Previous Page
Loading...
7. If a firm fixing is not achieved it may be necessary to install extra support to the studding. It is
most important that the fixings are firm and solid and that the structure is capable of taking
the load. Plasterboard fixings are not recommended.
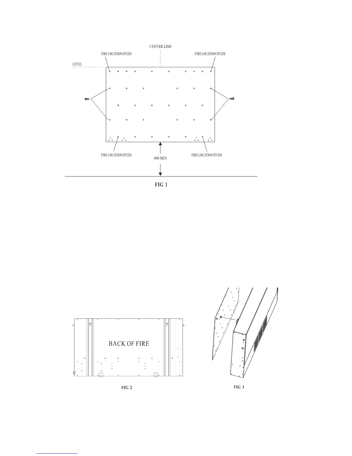
8. The fixing plate has four location studs, one at each corner of the plate. See figure 1.
9. Lift up the fire and offer the keyhole slots situated on the back of the fire (figure 2) to the
location studs on the fixing plate. A gentle downward pressure should be applied. Make sure
the all of the studs have been located into the top section of each keyhole fixing slot. (See
figures 3 & 4)

Related product manuals