EasyManua.ls Logo

Cessna 206 - Page 50

Cessna 206
167 pages
Print Icon
To Next Page IconTo Next Page
To Next Page IconTo Next Page
To Previous Page IconTo Previous Page
To Previous Page IconTo Previous Page
Loading...
CESSNA AIRCRAFT
COMPANY
SINGLE ENGINE
STRUCTURAL REPA
IR MANUAL
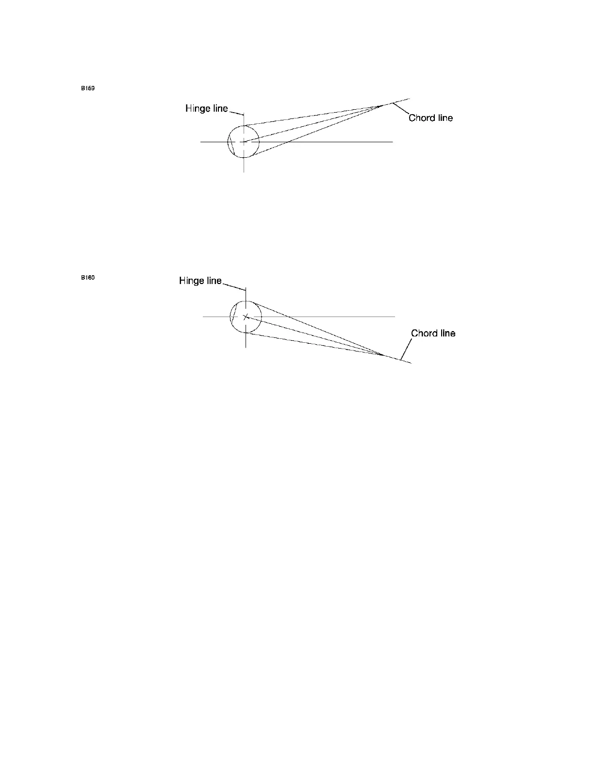
Control Surface Overbalance (-)
Figure 3
B. Underbalance (refer to Figure 4) is dened as the condition that exists when surface is trailing edge
heavy and is d
ened by symbol (+). If the balance beam uses a sliding weight, the weight must be
on the leading edge side of the hinge line (to balance the control surface), is considered to be under
balanced.
Control Surface Underbalance (+)
Figure 4
5. Control Surface Balance Requirements
NOTE: “Approved Flight” must never be exceeded when the surface is in its nal conguration for ight.
A. Refer to Tables 1, 2 and 3 for balance limits of the various airplane control surfaces. These approved
ight limits must take into account all items which may be attached and/or applied to the various control
surfaces (static wicks, trim tabs, paint, decorative trim stripes, and so forth).
Table 1. Model 172 Static Balance Limits.
CONTROL SURFACE STATIC BALANCE LIMITS APPROVED FOR FLIGHT
CONFIGURATION (INCH-LBS).
AILERON 0.0 TO +11.31
RUDDER
0.0 TO +9.0
LEFT ELEVATOR 0.0 TO +18.5
RIGHT EL
EVATOR
0.0 TO +2
4.5
51-60-00 Page 7
© Cessna Aircraft Company Jun 1/2005

Other manuals for Cessna 206

Related product manuals