EasyManua.ls Logo

CF MOTO CF1000US - Inspect the Engine Oil Level

CF MOTO CF1000US
198 pages
Print Icon
To Next Page IconTo Next Page
To Next Page IconTo Next Page
To Previous Page IconTo Previous Page
To Previous Page IconTo Previous Page
Loading...
136
Maintenance
1 2
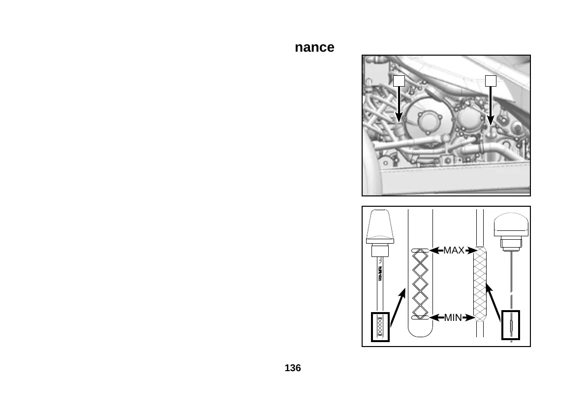
Inspect The Engine Oil Level
1� Place the vehicle on the level ground and park the vehicle�
2� Start the engine and idle for 30 seconds, then stop the engine.
3� Wait for a few minutes to allow the engine oil to settle down
inside the engine�
Transmission Oil Level
4� Remove the transmission oil dipstick ( 2 ) and clean it.
5� Insert the dipstick back into the dipstick hole, make the dipstick
threads contact the hole surface without screwing it.
6� Remove the oil dipstick and check if the oil level is between
upper and lower mark�
7� Reinstall the oil dipstick and tighten it�
Crank Case Oil Level
8� Remove the crank case oil dipstick ( 1 ) and clean it.
9� Insert the dipstick back into the dipstick hole, make the dipstick
threads contact the hole surface without screwing it.
10� Remove the oil dipstick and check if the oil level is between
upper and lower mark�
11� Reinstall the oil dipstick and tighten it�
MAX
MIN

Table of Contents

Related product manuals