EasyManua.ls Logo

Cisco 8742HDC - Page 14

Cisco 8742HDC
24 pages
Print Icon
To Next Page IconTo Next Page
To Next Page IconTo Next Page
To Previous Page IconTo Previous Page
To Previous Page IconTo Previous Page
Loading...
14 TP-00116-01
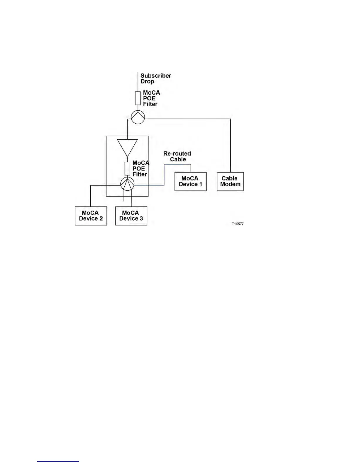
Installation Problems
Solution
A solution is to re-route the cable wiring so that MoCA Device 1 is connected to the
output of the home amplifier.
In addition to keeping all MoCA devices on the output side of the amplifier, you
should use a MoCA-compliant amplifier when an amplifier is required. (A MoCA-
compliant amplifier has an internal POE filter, as shown in the diagram.)

Related product manuals