EasyManua.ls Logo

Clarion CDC605 - Page 5

Clarion CDC605
27 pages
Print Icon
To Next Page IconTo Next Page
To Next Page IconTo Next Page
To Previous Page IconTo Previous Page
To Previous Page IconTo Previous Page
Loading...
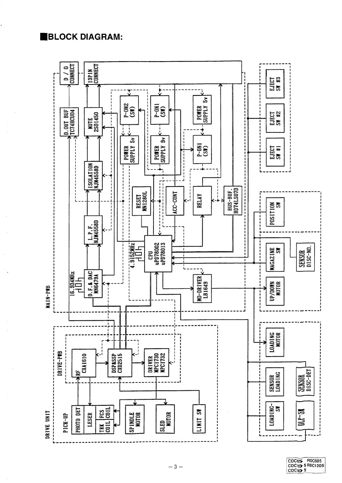
MIBLOCK
DIAGRAM
'
e#
aS
H
Loar
1
LOANNOD
NId&1
LOANNOO
o/a
o# MS
Loafa
AG
Alddfs
YadOd
a1nW
VONOHPLOL
ind
Lod
G8SSPAEN
NOILYI0S1
QLOSTPLOH|
“And-Sng
O8SSPWEN
a
Oe Oa
|
“ON-9S10
YOSNAS
YOLOK
NaOG/dn
6rSTaT
YAALYG-ON
€108Lada
c008L0d"
GMd-NIVW
t '
i] i] i] i]
'
YATYO
1
i]
(
an
YOLOW
SNTQVOT
ONIGYOT
aS
YOSNAS
|
|-ONIGYOT
Ae
enn
ae
)
BS
LIWI1
YOLON
ceLlodn
aaTs
O&LTOdH
YOLON
i)
1
i]
i]
1
t 1 1
'
i]
'
i]
'
'
'
i]
'
i)
i]
t
'
ATONIdS
i]
t
i]
t
1
i]
i]
1
'
i]
1
t
i]
a
STSZ0X9
dSS3dSd
1109)
1109
Sane
Sod|
Wal
130
OLOHd
d-H01d
1
4-
r--
peer
eserreeen=
LINA
FATHC
CDCro
5RDC1205
CDCHs
RDC605
CDCIO
5

Related product manuals