EasyManua.ls Logo

Clatronic HMS 3152 - Übersicht der Bedienelemente

Clatronic HMS 3152
Print Icon
To Next Page IconTo Next Page
To Next Page IconTo Next Page
To Previous Page IconTo Previous Page
To Previous Page IconTo Previous Page
Loading...
3
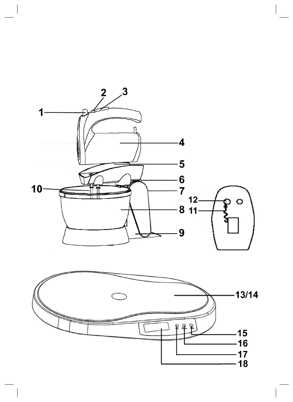
Übersicht der Bedienelemente
Overzicht van de bedieningselementen • Liste des différents éléments de commande
Indicación de los elementos de manejo • Descrição dos elementos • Elementi di comando
Oversikt over betjeningselementene • Overview of the Components
Przegląd elementów obsługi • Přehled ovládacích prvků • A kezelőelemek áttekintése
Обзор деталей прибора
05-HMS 3152 new 3 30.01.2008, 17:19:31 Uhr

Related product manuals