EasyManua.ls Logo

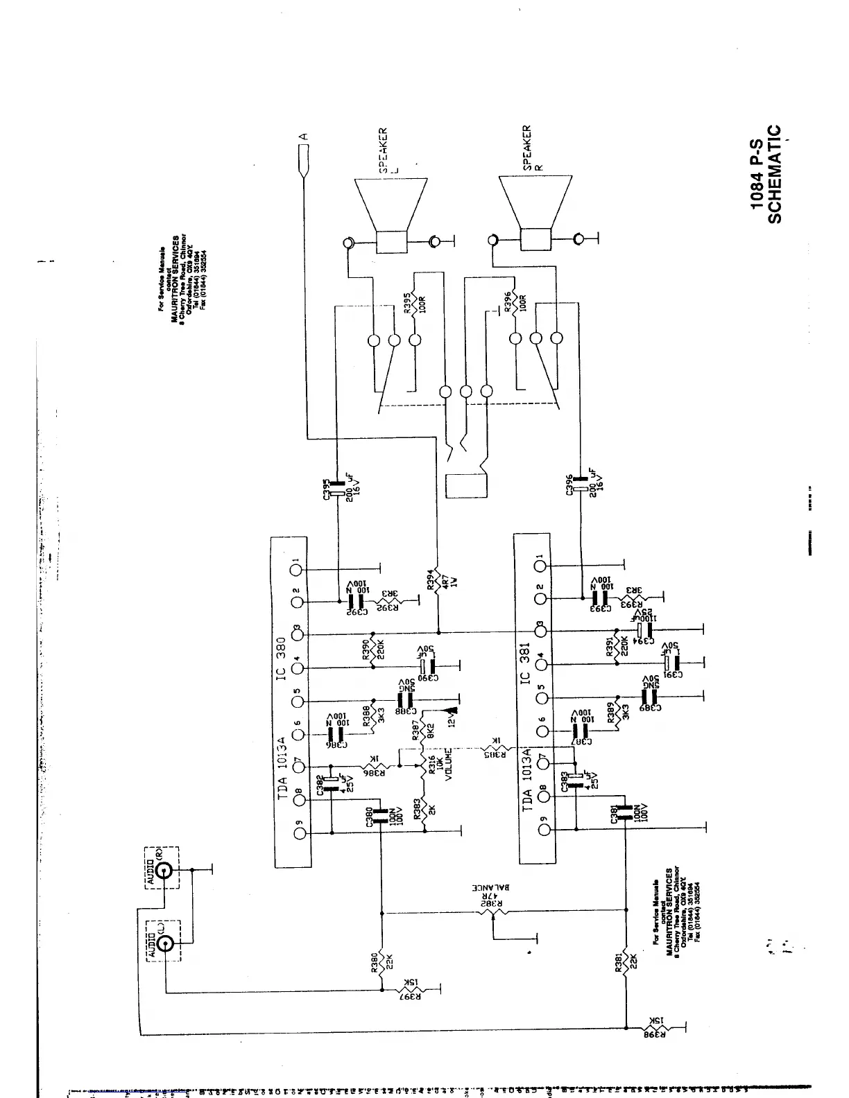
Commodore 1084P - 1084 P-S Schematic Diagram; Service Contact Information

Commodore 1084P
39 pages
Print Icon
To Previous Page IconTo Previous Page
To Previous Page IconTo Previous Page
Loading...

Related product manuals