EasyManua.ls Logo

Consonance R150 Linear - Consonance Remote Control; Use & Placement; Cleaning

Default Icon
5 pages
Print Icon
To Next Page IconTo Next Page
To Next Page IconTo Next Page
To Previous Page IconTo Previous Page
To Previous Page IconTo Previous Page
Loading...
3
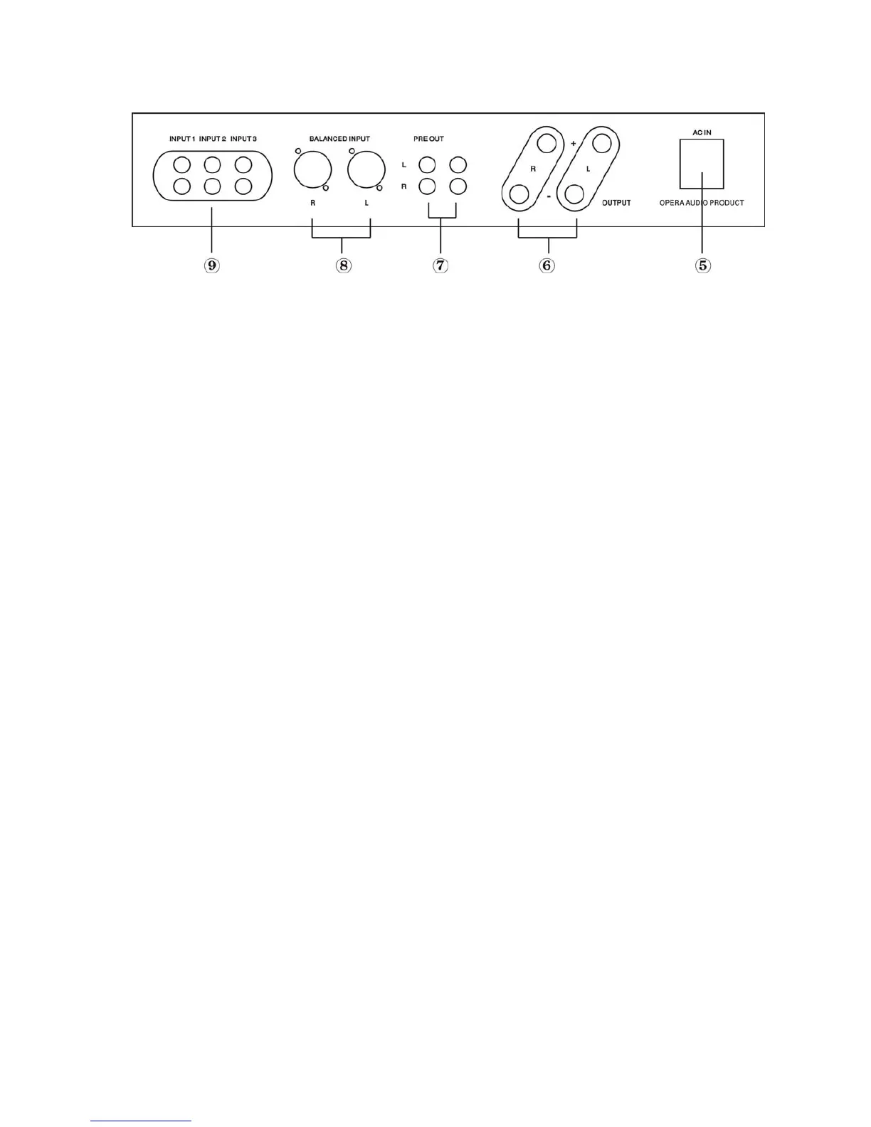
The amplifier is designed to be used with a CD player, DVD player, cassette deck, tuner or similar sound source.
From left to right the connectors are :
INPUT1(“IN1” displayed on the screen) Phono/RCA Signal input right/left
INPUT2(“IN2” displayed on the screen) Phono/RCA Signal input right/left
INPUT3(“IN3” displayed on the screen) Phono/RCA Signal input right/left
BALANCED INPUT(“BAL” displayed on the screen)Balanced/XLR Signal input right/left
Pre output Phono/RCA right/left
Speaker output right
Speaker output left
AC Power connection 230V / 115V / 100V AC dependent on country.
The preamplifier section of the Reference150 has two types of audio inputs: unbalanced audio signal with RCA
plugs (phono plugs) and true balanced audio signal with XLR plugs (pin 2 is positive phase, pin 3 is negative
phase and pin 1 is chassis earth), but only one tape of outputs: unbalanced audio signal with RCA plugs (phono
plugs).
CONSONANCE REMOTE CONTROL
The Consonance Reference150 can be controlled by an optional Consonance system remote control. Like other
Consonance products, the number of buttons is kept to a minimum.
The volume, channel select and mute functions of the Reference150 can be operated by using the remote
control. The Consonance system remote control will also control other Consonance products like CD players,
avoiding the need of several different remote control devices.
The remote control uses four 1.5-volt LR03 AAA batteries .
USE & PLACEMENT
The Consonance Reference150 should be placed on a flat, hard surface for proper cooling. The amplifier
performs best after being switched on for 1 hour for heating up. A certain space is required for air circulation
above and below the amplifier. The amplifier must never be placed on a carpet or similar surface that obstructs air
circulation through the component. Nor must it be covered while in use or placed on a narrow shelf or in another
confined space.
The amplifier will automatically switch itself off if overheated.
CLEANING