EasyManua.ls Logo

CONSTRUCTA CWF12N28IL - Wash Programmes Overview

CONSTRUCTA CWF12N28IL
60 pages
Print Icon
To Next Page IconTo Next Page
To Next Page IconTo Next Page
To Previous Page IconTo Previous Page
To Previous Page IconTo Previous Page
Loading...
en Programmes
24
Programmes
8 Programmes
Programmes
Below is an overview of the programmes. You can find information on the load and on the adjustable pro-
gramme options.
Tip:The laundry's care labels provide you with additional information on programme selection.
→"Care symbols on the care labels", Page32
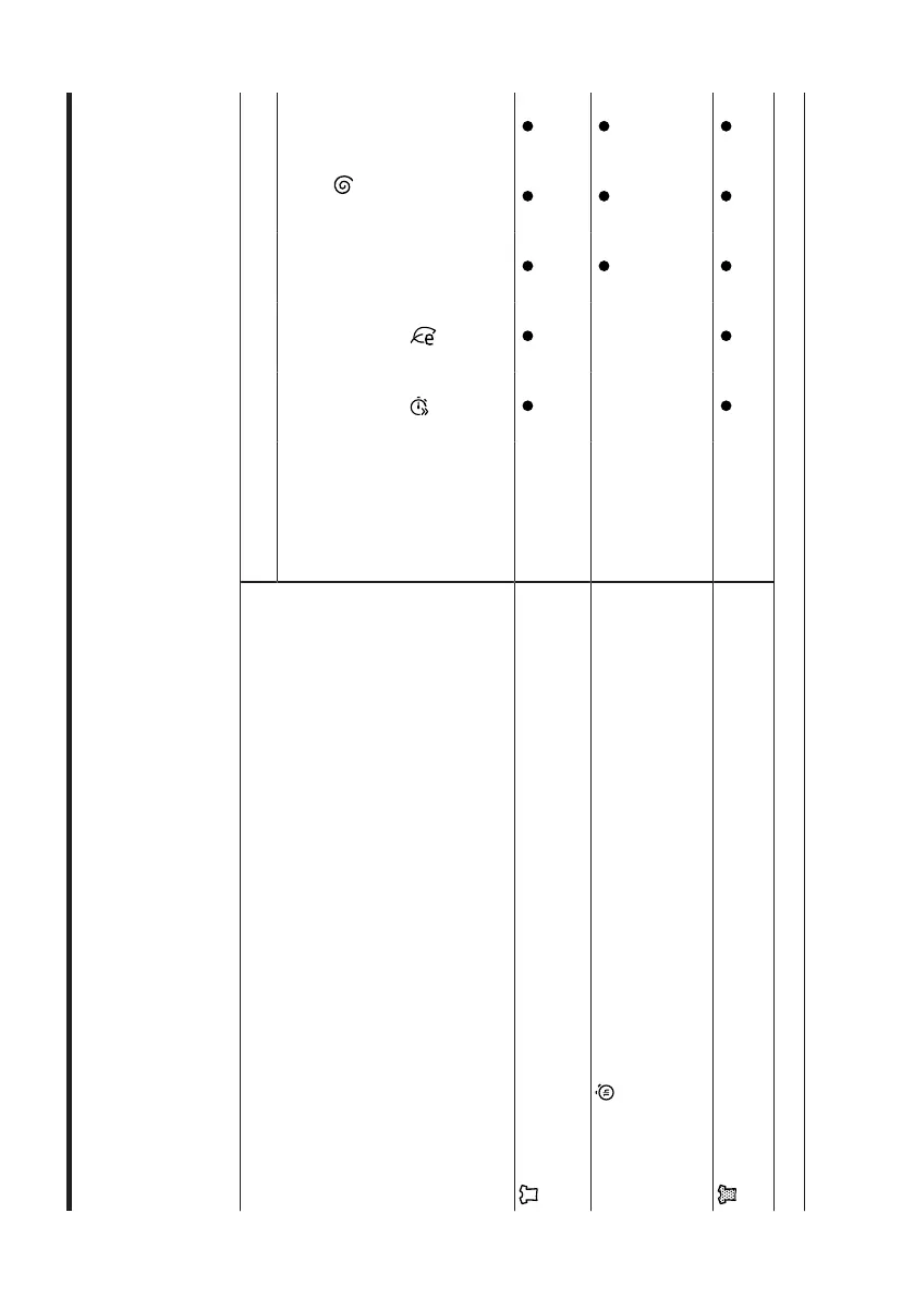
Programme Description
Max. load (kg)
Programme settings
Max. temperature (°C)
Max. spin speed
(rpm)
1
Speed / Eco
Speed / Eco
Water & Rinse Plus
Spin ––– (Rinse
Hold)
Prewash
⁠ Cotton Wash hard-wearing items made
from cotton, linen or blended fab-
rics.
8
90
1200
Super 60' Wash hard-wearing items made
from cotton, linen or blended fab-
rics.
Short programme for normally
soiled laundry.
5
60
1200
⁠ Easy Care Wash items made from synthetic
or blended fabrics.
4
60
1200
1
Programme setting

Table of Contents

Related product manuals