EasyManua.ls Logo

Cooper Menvier 40 - Page 8

Cooper Menvier 40
38 pages
Print Icon
To Next Page IconTo Next Page
To Next Page IconTo Next Page
To Previous Page IconTo Previous Page
To Previous Page IconTo Previous Page
Loading...
Before You Begin Menvier40/100
Page 4
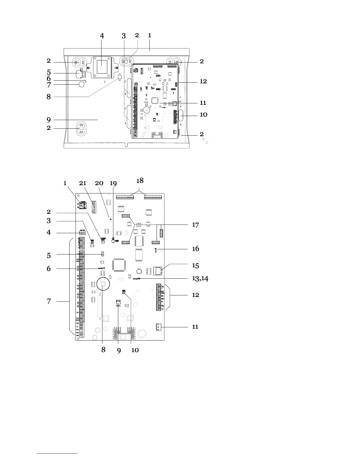
1. Case back.
2. Fixing holes.
3. Cable entry holes for detector
and keypad wiring.
4. Transformer.
5. Fused mains connector.
6. Mains cable anchor point.
7. Cable entry hole for mains
supply.
8. Hole for back tamper fitting.
9. Space for batteries (one 17Ah).
10. Cable entry holes for
loudspeakers, siren/strobes and
communicators.
11. Printed circuit board (PCB).
12. Plastic PCB tray.
Figure
Control Unit
1. PSTN Connector for on board
communicator.
2. Lid tamper connector.
3. RS485 terminator.
4. Engineering keypad connector.
5. USB socket (Mini B).
6. Heartbeat LED.
7. Zone-, output-, and Aux power
connectors.
8. Sounder for locating panel.
9. Battery connector.
10. Kickstart pins.
11. 20Vac connector.
12. Connectors for loudspeakers,
sirens and strobes
13. Ethernet activity.
14. Ethernet speed.
15. Ethernet socket.
16. Comms activity LED.
17. Sockets for plug on module.
18. Plug by output connectors.
19. Reset Codes pins.
20. Onboard communicator activity
LED.
21. ADSL filter connector.
Figure
Control Unit Printed Circuit Board

Table of Contents

Related product manuals