EasyManua.ls Logo

CORBERO TEIDE - Page 7

CORBERO TEIDE
Print Icon
To Next Page IconTo Next Page
To Next Page IconTo Next Page
To Previous Page IconTo Previous Page
To Previous Page IconTo Previous Page
Loading...
7
: 6
Durante la instalaci6n, pida que le ayude otra persona.
Use guantes protectores para evitar lesiones debido a los bordes afilados.
1
2
4
5
6
7
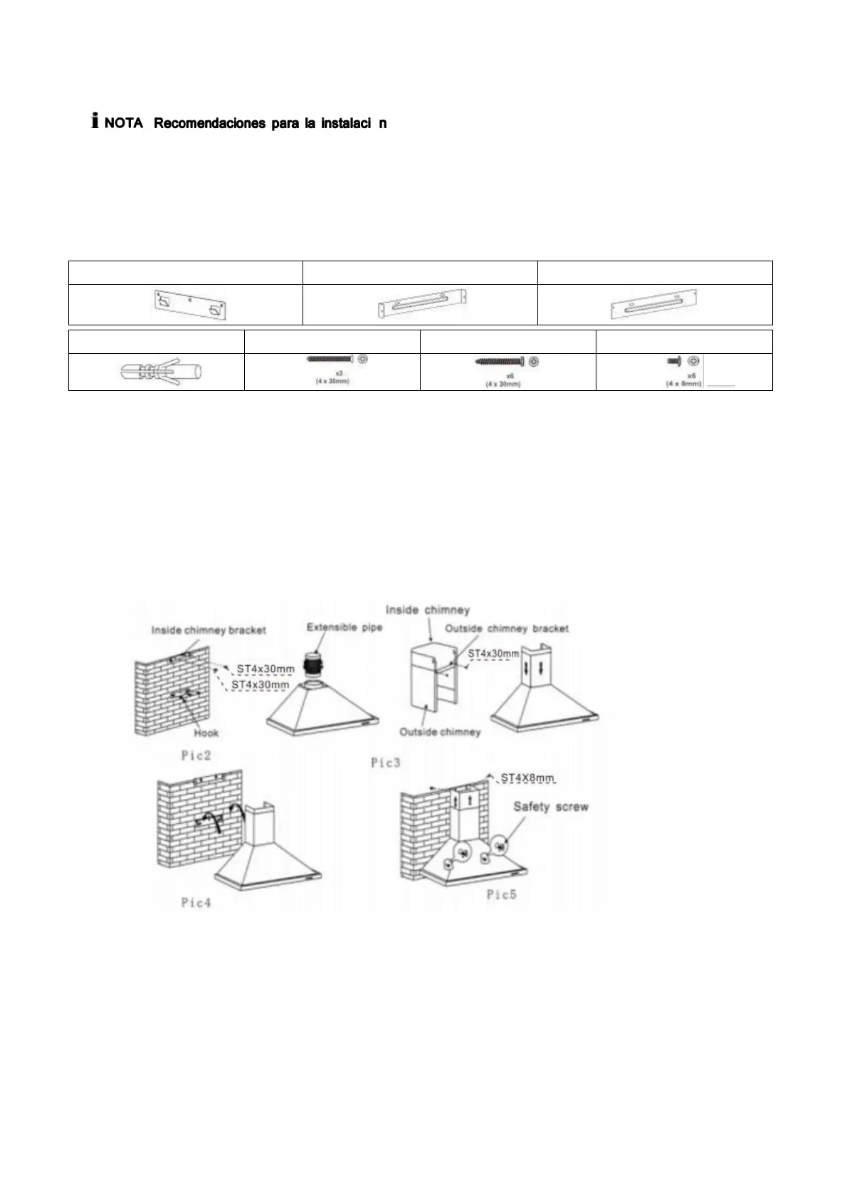
Determine la posici6n de la campana extractora centrada sobre la placa de cocci6 n, cumpliendo con las
distancias de seguridad especificadas.
Marque los agujeros necesarios para el montaje en la pared usando la plantilla para taladrar suministrada y
compruébelos con un nivel de burbuja.
Taladre en la pared los agujeros de montaje para las abrazaderas respectivas (1+2+3). Introduzca los tacos
(4) y apriete las abrazaderas con los tornillos (5/6).
Instale la guía de suspensi6n (1) para el cuerpo de la campana, así como la guía de montaje con la
abrazadera (2) en el borde superior, paralela a la guía (1). iDetermine previamente la longitud de
extensi
6
n de la cubierta del conducto!
Antes de colgar, inserte la pieza de conexi
6
n con las v
á
lvulas antirretorno sobre el conducto de extracci
6
n
desde arriba. Compruebe que los ganchos de montaje de la pieza de conexi
6
n encajen en su lugar
.