EasyManua.ls Logo

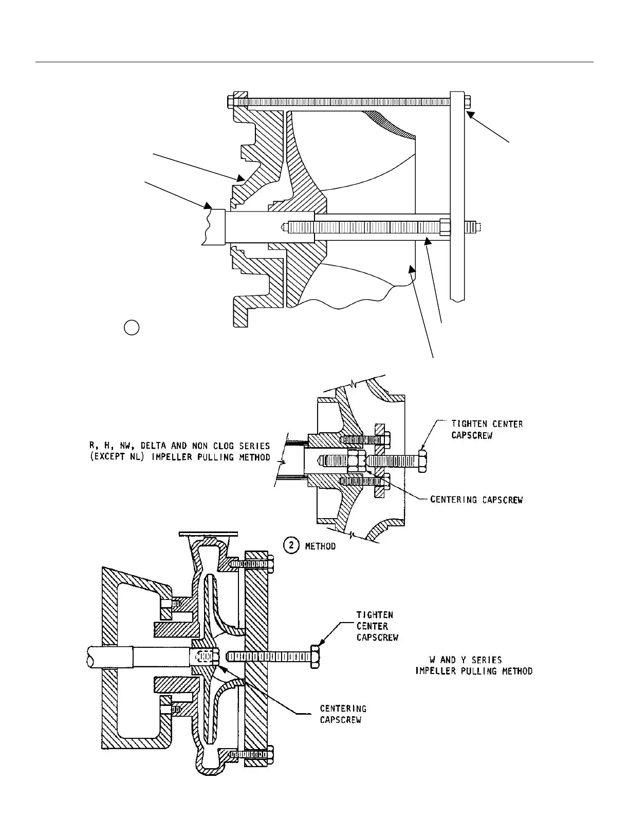
Cornell 6NHTA - Dismantling Methods; Method 1; Method 2 (R, H, NW, DELTA & NON CLOG); Method 3 (W & Y Series)

Default Icon
33 pages
Print Icon
To Next Page IconTo Next Page
To Next Page IconTo Next Page
To Previous Page IconTo Previous Page
To Previous Page IconTo Previous Page
Loading...
Supersedes 3200-3 3200-401
July, 1965 May, 1979
Cornell Pump Company
DISMANTLING METHODS
SIDE PLATE
IMPELLER
PIPE (OPTIONAL)
1
METHOD
TIGHTEN EACH NUT
EVENLY