EasyManua.ls Logo

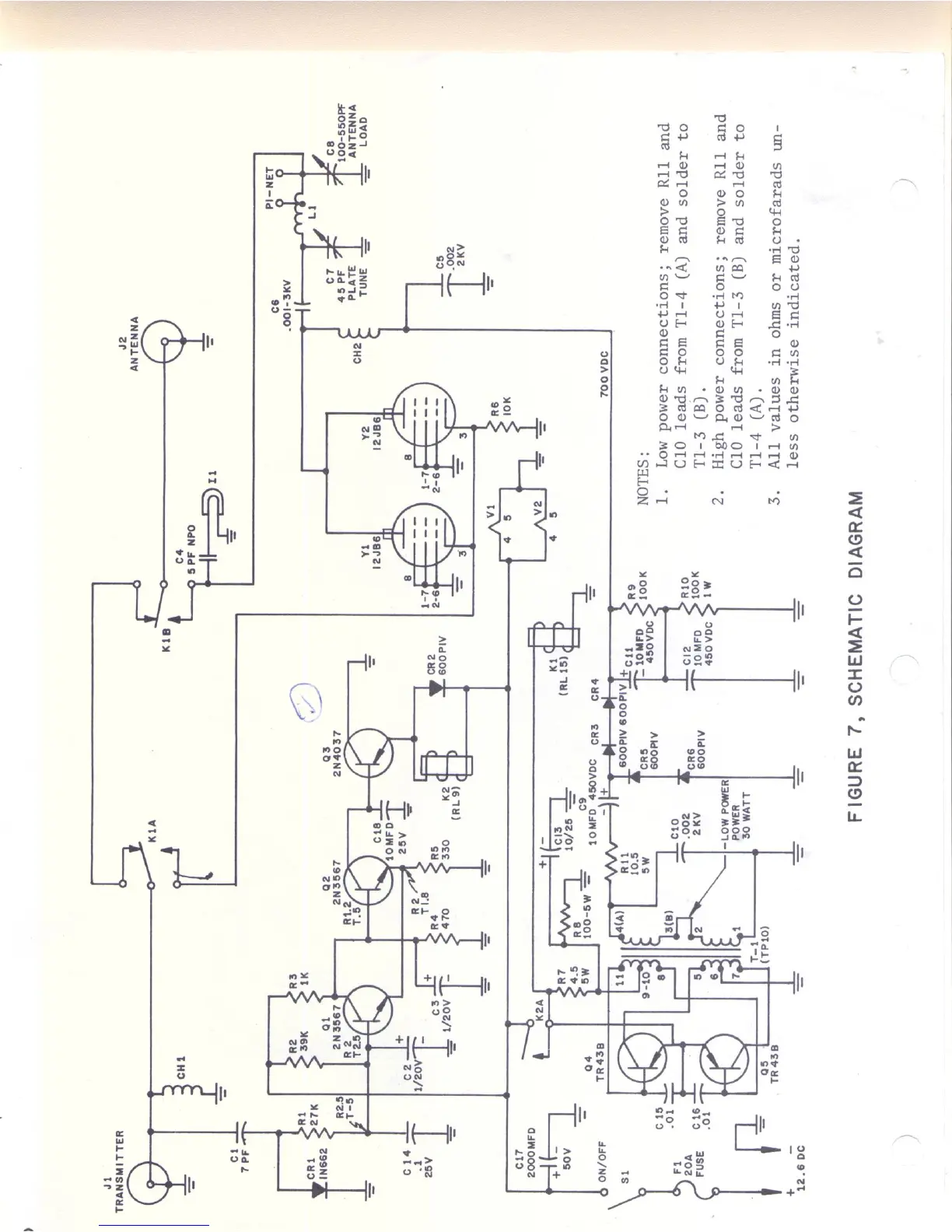
COURIER ML100 - Circuit Diagrams; Schematic Diagram

COURIER ML100
14 pages
Print Icon
To Next Page IconTo Next Page
To Next Page IconTo Next Page
To Previous Page IconTo Previous Page
To Previous Page IconTo Previous Page
Loading...